EasyManua.ls Logo

EWM Tetrix 351 - Machine Description - Quick Overview; System Overview and Component Diagram

EWM Tetrix 351
138 pages
Print Icon
To Next Page IconTo Next Page
To Next Page IconTo Next Page
To Previous Page IconTo Previous Page
To Previous Page IconTo Previous Page
Loading...
Machine description quick overview
System overview
099-000115-EW501
17.06.2015
19
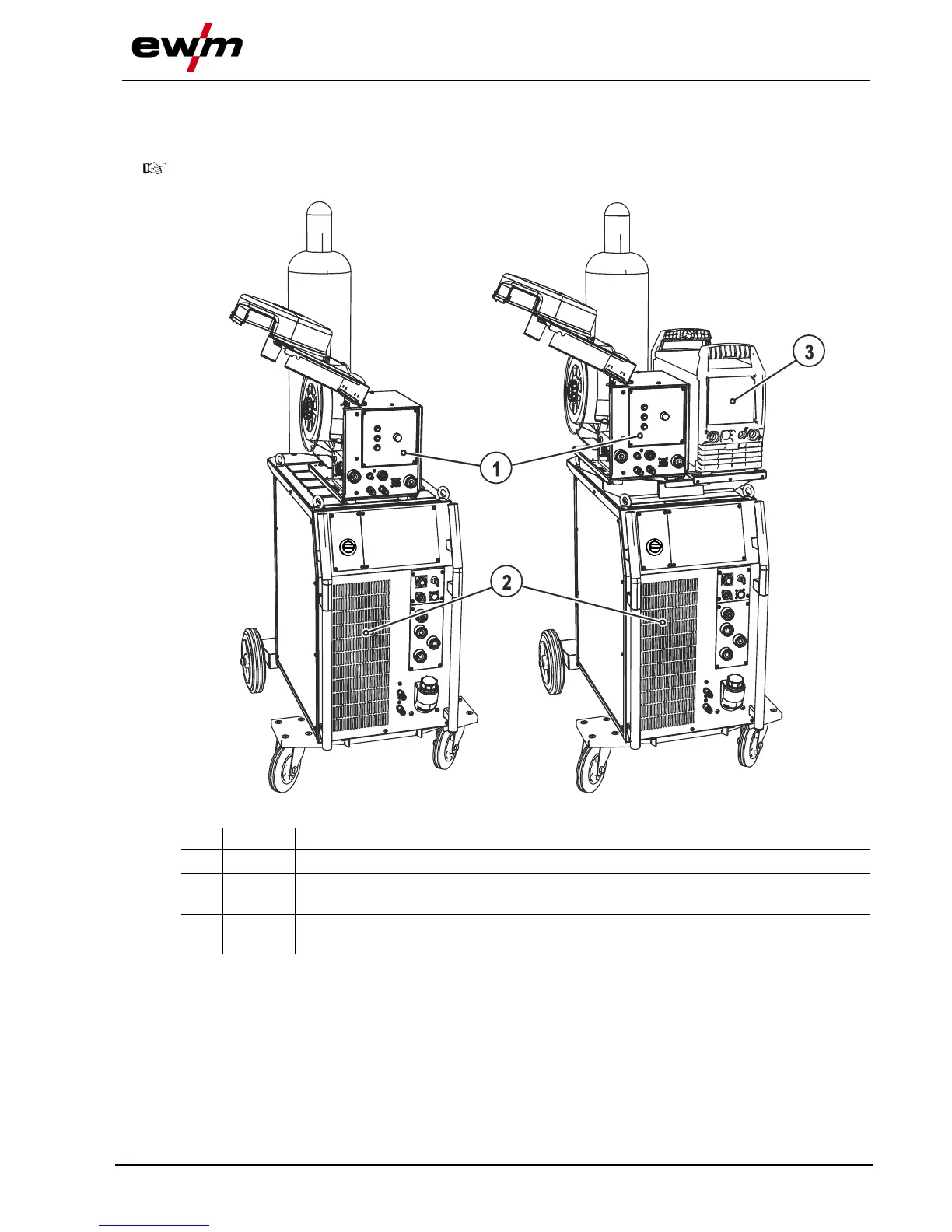
4 Machine description – quick overview
4.1 System overview
The machine described in this manual is integrated into the welding system as shown in the
diagram.
Figure 4-1
Item
Symbol
Description 0
1
Wire feed unit
2
Power source (TIG)
Observe additional system documents!
3
Power source (TIG hot wire)
Observe additional system documents!

Table of Contents

Related product manuals