EasyManua.ls Logo

EWM Tetrix 351 - Design and Function - TIG Synergic Operating Principle (Continued); Pulse Welding Function Sequences and Deactivation; TIG Pulses: Non-latched and Latched Operation

EWM Tetrix 351
138 pages
Print Icon
To Next Page IconTo Next Page
To Next Page IconTo Next Page
To Previous Page IconTo Previous Page
To Previous Page IconTo Previous Page
Loading...
Design and function
TIG Synergic operating principle
099-000115-EW501
17.06.2015
75
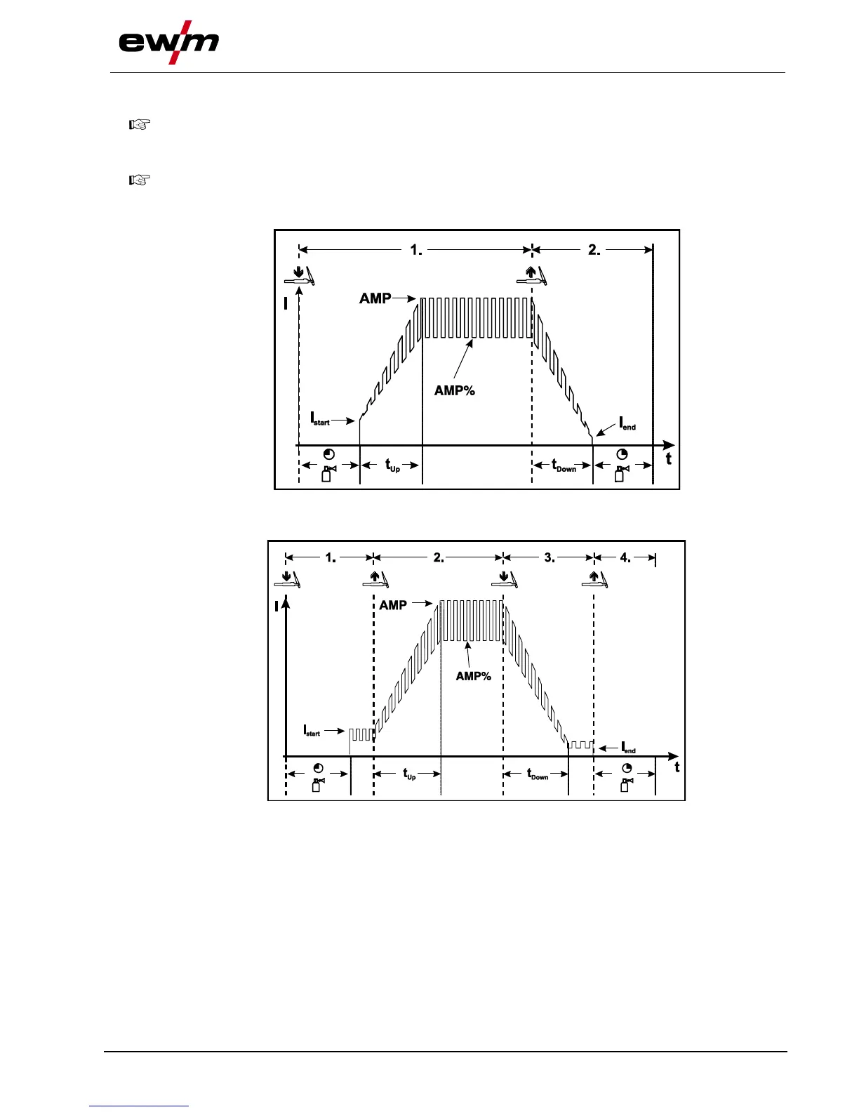
5.13.11 Pulses, function sequences
The function sequences in pulses basically behave in the same way as in standard welding, but
during the main current phase there is a continual switching back and forth between the pulse
and pause currents at the relevant times.
The pulse function can also be deactivated if necessary during the upslope and downslope
phases- See 5.22 Machine configuration menu chapter.
5.13.11.1 TIG pulses non-latched operation
Figure 5-35
5.13.11.2 TIG pulses - latched operation
Figure 5-36

Table of Contents

Related product manuals