EasyManua.ls Logo

EWM Tetrix 351 - Design and Function - Mechanical Arc Fusion Welding Configuration (Continued); Non-latched Mode Operation Details

EWM Tetrix 351
138 pages
Print Icon
To Next Page IconTo Next Page
To Next Page IconTo Next Page
To Previous Page IconTo Previous Page
To Previous Page IconTo Previous Page
Loading...
Design and function
Configuring the welding machine for mechanical arc fusion welding
099-000115-EW501
17.06.2015
55
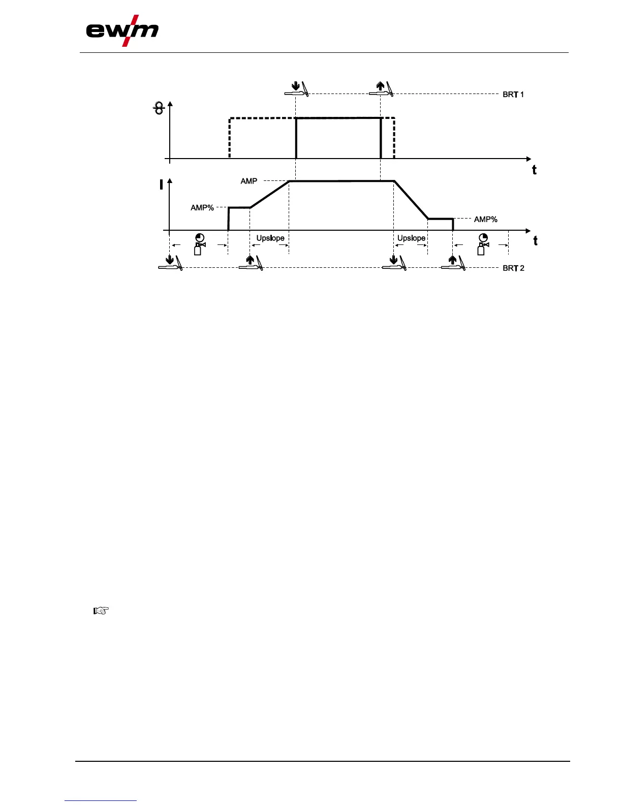
5.11.4.2 Non-latched mode
Figure 5-16
1st cycle (current)
Press torch trigger 2 (BRT 2), the gas pre-flow time elapses.
HF ignition pulses jump from the tungsten electrode to the workpiece. The arc ignites.
Welding current flows and immediately assumes the set ignition current AMP%
(search arc at minimum setting). HF switches off.
2nd cycle (current)
Release BRT 2.
The welding current ramps up to the main current AMP in the selected up-slope time.
1st cycle (wire)
Press torch trigger 1 (BRT 1).
Wire electrode is advanced.
2nd cycle (wire)
Release BRT 1.
Wire electrode advance stops.
3rd cycle (current)
Press BRT 2.
The main current ramps down to the end-crater current I
end
(AMP%) in the selected down-slope time.
4th cycle (current)
Release BRT 2. Arc extinguishes.
Shielding gas continues to flow for the selected gas post-flow time.
Ending the welding process without down-slope time and end-crater current:
Tap BRT 2 (tapping function).
Shielding gas continues to flow for the selected gas post-flow time.
Swiftly tap the torch trigger to change the function.
The torch mode set determines the operating mode of the tapping function.

Table of Contents

Related product manuals