EasyManua.ls Logo

Festo FB13 - Page 185

Festo FB13
195 pages
Print Icon
To Next Page IconTo Next Page
To Next Page IconTo Next Page
To Previous Page IconTo Previous Page
To Previous Page IconTo Previous Page
Loading...
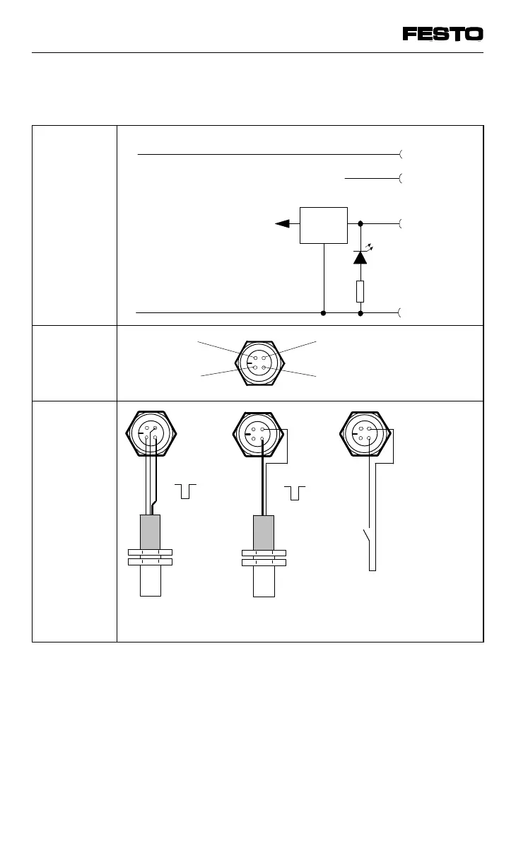
4-input module NPN
negative
switching
negative
switching
4
1
Logic
identifi-
cation I
x
n.c.
PLC/I-PC
I
x
24 V ± 25 %
0 V
3: 0 V
4: Input I
x
2: n.c.
1: + 24 V
green LED Ix
ContactTwo-wire
sensor
Three-wire
sensor
2
3
Pin
Internal
structure
Pin
assignment
Circuitry
examples
Fig. A/7: Circuitry example: 4-input module NPN
VIFB13 - 03/05 Appendix A
A-16
9701 NH

Table of Contents

Related product manuals