EasyManua.ls Logo

FUTABA T18SZ - Page 30

FUTABA T18SZ
178 pages
Print Icon
To Next Page IconTo Next Page
To Next Page IconTo Next Page
To Previous Page IconTo Previous Page
To Previous Page IconTo Previous Page
Loading...
30
BeforeUse
Ɣ5HWDLQLQJ)RUFH-
0RGH
Ɣ5HWDLQLQJ
)RUFH-
0RGH
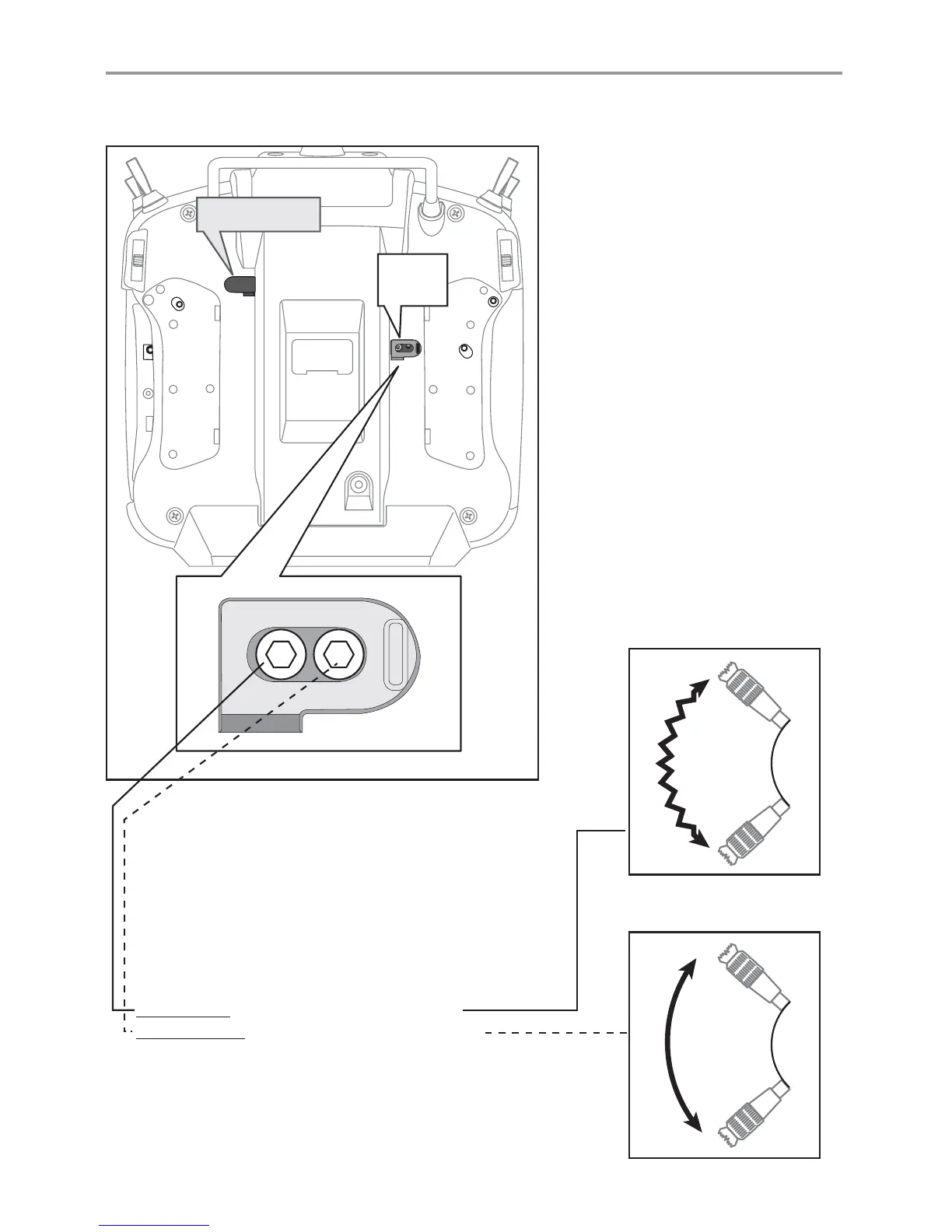
>$GMXVWPHQWRIWHQVLRQ@
1. Open the dust protection cap on the back of the
transmitter that is covering the hole for throttle stick
adjustment.
2. Use the attached 1.5mm hexagonal wrench (inside
stylus) to turn the adjustment screw and set it as you
prefer. Turning the screw clockwise increases the
tension.
For airplanes: Adjust the screw on the left.
For helicopters: Adjust the screw on the right.
In changing the setting from airplane to helicopter (or
heli to airplane);
1. Turn the screw counterclockwise until the throttle
stick moves freely, and turn the screw clockwise to
adjust it to the tension you prefer.
*This transmitter has two ratchet plates, one for
airplane and the other one for helicopter. If
you tighten both screws, you won't be able to
DFKLHYHWKHDGMXVWPHQWWKDW\RXQHHGEHFDXVH
RIWKHRYHUODSRIWKRVHWZRDGMXVWPHQWV
*If you want to change the setting from airplane
to helicopter (or from helicopter to airplane),
turn the ratchet screw clockwise until the
throttle stick moves freely. Then turn the screw
for the helicopter until you get the tension you
like.
*In the Mode 1/3, arrangement of a screw is opposite.
ŤƇƍƘƖƗƐƈƑƗŃƒƉŃŷƋƕƒƗƗƏƈŃŶƗƌƆƎŃŋŵƄƗƆƋƈƗŃŶƜƖƗƈƐŌ
You can choose either airplane ratchet system or helicopter-touch.
Airplane
Helicopter

Other manuals for FUTABA T18SZ

Related product manuals