EasyManua.ls Logo

Hitachi DKC910I - Page 95

Hitachi DKC910I
212 pages
Print Icon
To Next Page IconTo Next Page
To Next Page IconTo Next Page
To Previous Page IconTo Previous Page
To Previous Page IconTo Previous Page
Loading...
Copyright © 2019, 2021, Hitachi, Ltd.
DKC910IHitachi Proprietary
[INST(IN)08-01-41]
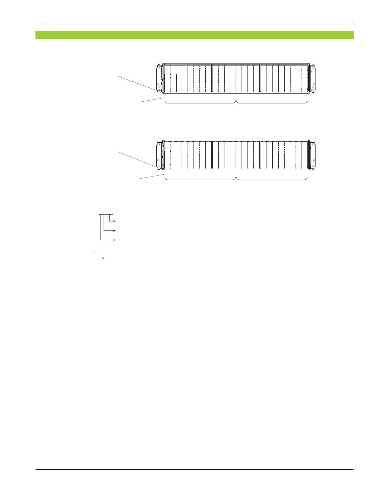
Figure 8-4 Drive Mounting Location (SBX)
Figure 8-5 Drive Mounting Location (NBX)
*1 : The name in parentheses in the SVP messages shows HDDxxx-yy here.
*2: DKU-xy(n)
n: Drive Box number in DKU (0, 1, 2, and 3)
y: DKU No. (0, 1, 2 ..., 7)
x: CBX Pair No. (0, 1, 2)
*3: DB-zzz
DB No. (000, 001, 002, ........, 191)
*4: The slot numbers on DBS2 (SBX) displayed in the DKU-mm: Drive Box window of Maintenance
Utility are the same as the slot numbers shown in Figure 8-4.
*5: The slot numbers on DBN (NBX) displayed in the DKU-mm: Drive Box window of Maintenance
Utility are the same as the slot numbers shown in Figure 8-5.
HDD zzz-00
HDD zzz-07
HDD zzz-01
HDD zzz-02
HDD zzz-03
HDD zzz-04
HDD zzz-05
HDD zzz-06
HDD zzz-08
HDD (zzz+1)-03
HDD zzz-09
HDD zzz-10
HDD zzz-11
HDD (zzz+1)-00
HDD (zzz+1)-01
HDD (zzz+1)-02
HDD (zzz+1)-04
HDD (zzz+1)-11
HDD (zzz+1)-05
HDD (zzz+1)-06
HDD (zzz+1)-07
HDD (zzz+1)-08
HDD (zzz+1)-09
HDD (zzz+1)-10
0 1 2 3 4 5 6 7 8 9 10 11
DB-zzz
0 1 2 3 4 5 6 7 8 9 10 11
DB-(zzz+1)
DKU-xy(n)
(A label is attached.)
Printed slot number
HDD zzz-00
HDD zzz-07
HDD zzz-01
HDD zzz-02
HDD zzz-03
HDD zzz-04
HDD zzz-05
HDD zzz-06
HDD zzz-08
HDD (zzz+1)-03
HDD zzz-09
HDD zzz-10
HDD zzz-11
HDD (zzz+1)-00
HDD (zzz+1)-01
HDD (zzz+1)-02
HDD (zzz+1)-04
HDD (zzz+1)-11
HDD (zzz+1)-05
HDD (zzz+1)-06
HDD (zzz+1)-07
HDD (zzz+1)-08
HDD (zzz+1)-09
HDD (zzz+1)-10
0 1 2 3 4 5 6 7 8 9 10 11
DB-zzz
12 13 14 15 16 17 18 19 20 21 22 23
DB-(zzz+1)
DKU-xy(n)
(A label is attached.)
Printed slot number
Rev.1.1
INST(IN)08-01-41

Table of Contents

Other manuals for Hitachi DKC910I

Related product manuals