EasyManua.ls Logo

IAI XSEL - Page 192

IAI XSEL
566 pages
Print Icon
To Next Page IconTo Next Page
To Next Page IconTo Next Page
To Previous Page IconTo Previous Page
To Previous Page IconTo Previous Page
Loading...
170
Part 4 CommandsChapter 2 Explanation of Commands
%'=" !&
O4&!%,5
" !%'"!
I+'!&"!"!'"!
4N5
!#('"!'"!
45
" !
%'"!
#%!: #%!;
('#('
4('#('5
#'"! #'"! O   
(!'"! '#"%'&"%&%" '"!&#!"#%!:'%"('"'%&#!
"#%!;'")%BB&!%,
;
@
;
?
;
>
;
=
;
<
;
;
;
:
;
9
!%,
:> := :< :; :: :9 B A
!#('#"%'!( %
O     O  O
:9999:9:
!%,
;
@
797979797;
;
797;
9

:;A 797979797=797 : F :<<
:<<
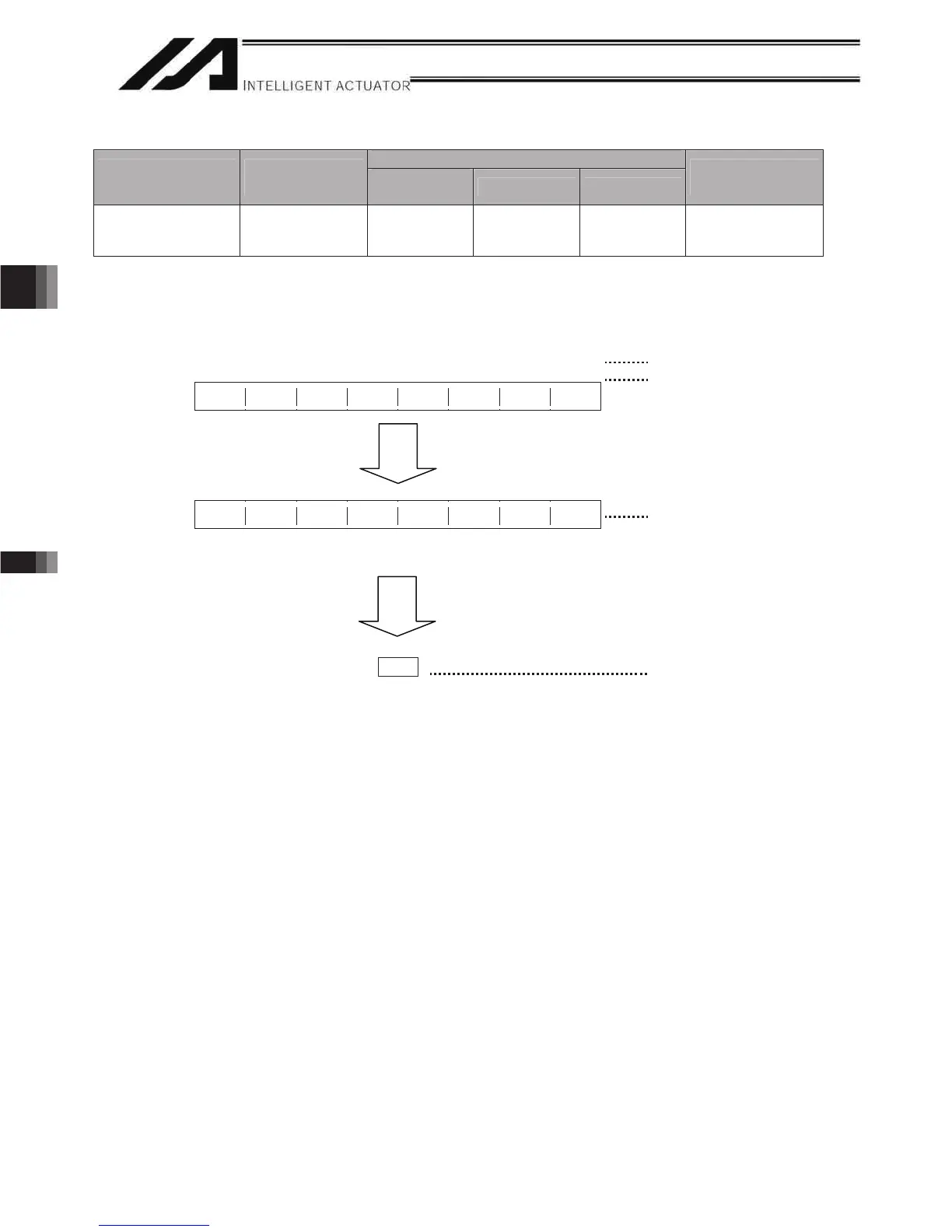
%BB
4O"':5  + ( "<;'&!!#('
4O"';5 R!<;'&)!!#('!' "&'&!!''&O')(%'")%
BB*'%'&!'))(
4O"'<5 %'"% '!!(&!" !4%%'"'&'"!"!
" !5
I+ #: OA :> !#('#"%'&A'%"(:>'")%BB&
!%,

I+ #; NI : A &&!A'")%:
NI ; :> &&!:>'")%;
O 6: 6; '!#('#"%'&%" '"!'!'")%:
4!#('#"%'A5'%"('"!'!'")%;4!#('
#"%':>5'")%BB&!%,

Table of Contents

Related product manuals