EasyManua.ls Logo

KEB COMBIVERT F5 - Voltage Input; External Power Supply; Digital Outputs; Relay Outputs; Analog Outputs

KEB COMBIVERT F5
349 pages
Print Icon
To Next Page IconTo Next Page
To Next Page IconTo Next Page
To Previous Page IconTo Previous Page
To Previous Page IconTo Previous Page
Loading...
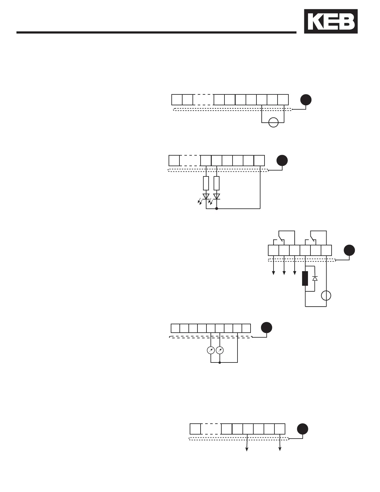
3.1.7 Relay Outputs
3.1.8 Analog Outputs





3.1.6 Digital Outputs
   


  
A total of max.
50 mA DC for
both outputs
3.1.9 Voltage Output
3.1.5 Voltage Input /
External Power Supply
The voltage output serves for triggering the digital inputs as well as for
supplying external control devices. Do not exceed the maximum output
current of 100 mA. This output is short circuit protected.
The supply to the control circuit through an external voltage source keeps
the control in operational condition even if the power stage is switched off.
The external power supply should have the 0VDC connected to ground,
preferably at the supply device itself. To prevent undened conditions (false
triggering), rst, switch on the power supply and then the inverter.
     


  
20...30V ±0%, 1 A DC regulated
   


  



  


  

In case of inductive loads on the
relay outputs, protective wiring
must be provided (e.g. RC or
diode arc suppression)!
Control Connections
43

Table of Contents

Other manuals for KEB COMBIVERT F5

Related product manuals