EasyManua.ls Logo

Keysight 53230A - Trigger and Gate Cycle

Keysight 53230A
303 pages
Print Icon
To Next Page IconTo Next Page
To Next Page IconTo Next Page
To Previous Page IconTo Previous Page
To Previous Page IconTo Previous Page
Loading...
Triggering and Gating 5
Keysight 53220A/53230A User’s Guide 157
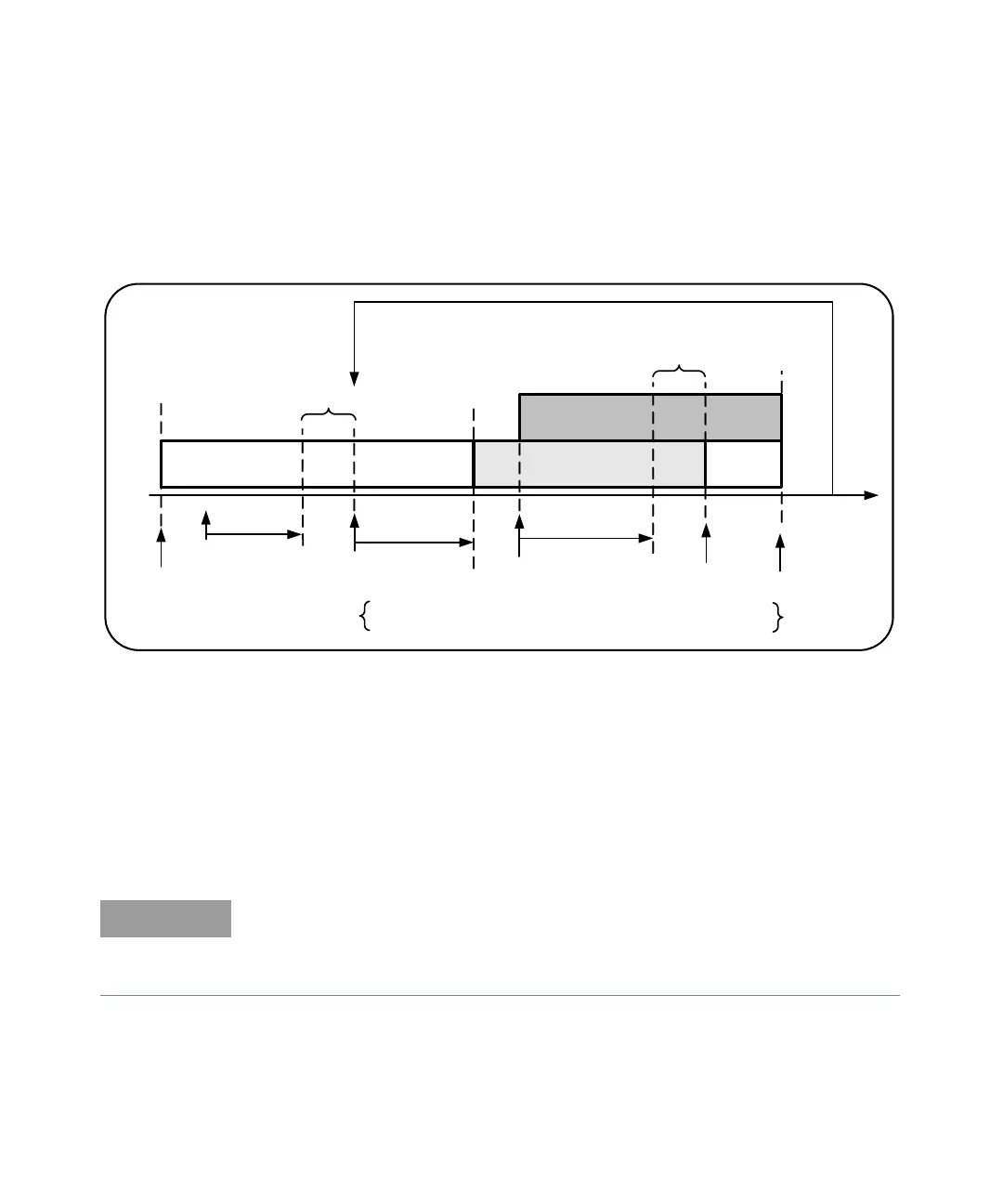
Trigger and gate time line
Triggering and gating are part of every counter measurement. The relationship of
these actions relative to the measurement are shown in the time line of Figure 5-1.
Figure 5-1 Triggering and gating time line.
Trigger and Gate Cycle
The elements of triggering and gating summarized in Figure 5-1 are shown in
detail in the programming cycle of Figure 5-2. The following sections contain
descriptions and examples of each step in the cycle.
Input events received are ignored Ga t e e n a bl e d
Auto Gate
Ex t e n s i o n
INIT:IMMediate
Tri gger
Tri gger Delay
(Time)
Ga t e
Start
Start Gate Delay
(Time, Events)
Ga t e
Stop
Final Event
Stop Holdoff
(Time, Events)
1
st
Input
Ev e n t
M aking measurement
Measurement
Compl et e
Gate Start Enabled
Gate Stop Enabled
Gate sequence: repeated for each reading per trigger
gate
opens
NOTE
The SCPI commands and parameters listed throughout this chapter are provided
as a guide to how the counter is operated programmatically. The commands are
described in detail in the ‘Programmer’s Reference’ section of the Keysight
53210A/53220A/53230A Product Reference CD.

Table of Contents

Other manuals for Keysight 53230A

Related product manuals