EasyManua.ls Logo

MD Helicopters 369D - Page 400

MD Helicopters 369D
722 pages
Print Icon
To Next Page IconTo Next Page
To Next Page IconTo Next Page
To Previous Page IconTo Previous Page
To Previous Page IconTo Previous Page
Loading...
CSP-HMI-3 MD Helicopters, Inc.
MAINTENANCE MANUAL
[ Main Menu ]
[ HMI3 Book TOC ]
[ Chapter 96 TOC ]
Page 254
Revision 12
96-02-00
The information disclosed herein is proprietary to MD Helicopters, Inc.
Neither this document nor any part hereof may be reproduced or transferred to
other documents or used or disclosed to others for manufacturing or any other
purpose except as specifically authorized in writing by MD Helicopters, Inc.
Copyright © 19992016 by MD Helicopters, Inc.
(J1201-53) E1142B22
A B
SP73
A
J1301P
E1143A20
P300/S300
ENG. CHIP
DET. UPPER
P301/S301
ENG. CHIP
DET. LOWER
A
B
N2
TACH
GEN
A
B
N1
TACH
GEN
P305
P306
A B
SP123
WHT
S303
FUEL
FILTER
SW.
SQ300
IGNITION
EXCITER
IGN. GAP
J1072C22
L
H1163B22
P307
1
3
2
ANTI-ICING
SOLENOID
VALVE
CR50
E13
H1186A22N
K1268A22 A B
SP124
BLK
M29
START COUNTER
TORQUE
OIL PRESS.
TRANSDUCER
ENGINE
OIL PRESS.
TRANSDUCER
(TB200-7S) J1072B22
C20B AND C20R/2 ENGINE WIRE HARNESS
TC300
THERMOCOUPLE
G301
G302
(J1202-K) CHROM WHT E1141A16
(J1202-N) ALUML GRN E1141A16
#8 LUG
#10 LUG
369D24254
G96-0028-8
(J1201-45) WHT E1139B22
(J1201-46) BLU E1139B22
(TB200-8R) E1103A22
(J1201-47) E1102A22
(J1201-54) E1140B22
(J1201-69) Q506B22
B
C
D
E
F
G
H
r
E1144A20
E1139A22 WHT
E1139A22 BLU
E1078A22 WHT
E1078A22 BLU
E1140A22
(J1201-57) K1158A22
(J1201-58) K1159A22
(J1201-66) WHT E1267B22(J1201-66) WHT E1267B22
(J1201-66) WHT E1267B22
(J1201-67) BLU E1267B22
(J1201-62) WHT E1162A22
(J1201-63) BLU E1162A22
(J1201-55) H1163A22
(J1201-56) H1164A22
(K301-X1) K1268B22
(J1201-65) E1259B22
(J1201-49) WHT E1258B22
(J1201-50) BLU E1258B22
(J1201-59) E1261B22
(J1201-60) WHT E1161B22
(J1201-61) BLU E1161B22
M
N
a
b
c
d
U
V
W
X
Y
g
Z
J
K
e
P
R
S
T
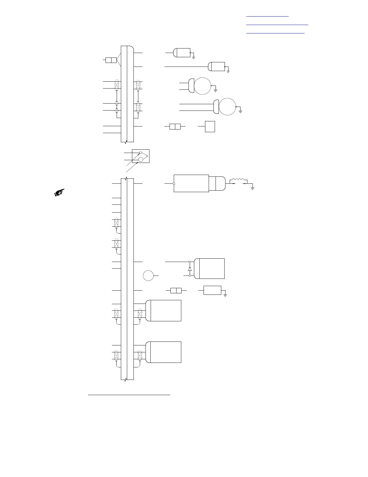
Figure 208. Fuselage Wiring Diagram (369E; 509 & Subs, 369FF; 096 & Subs
500N; 045 & Subs) (Sheet 8 of 9)

Table of Contents

Other manuals for MD Helicopters 369D

Related product manuals