EasyManua.ls Logo

Micros Systems Workstation 5 - LX800 Processor and TFT Controller

Micros Systems Workstation 5
156 pages
Print Icon
To Next Page IconTo Next Page
To Next Page IconTo Next Page
To Previous Page IconTo Previous Page
To Previous Page IconTo Previous Page
Loading...
2-4 Workstation 5 Field Service Guide
Workstation 5 System Board Technical Descriptions
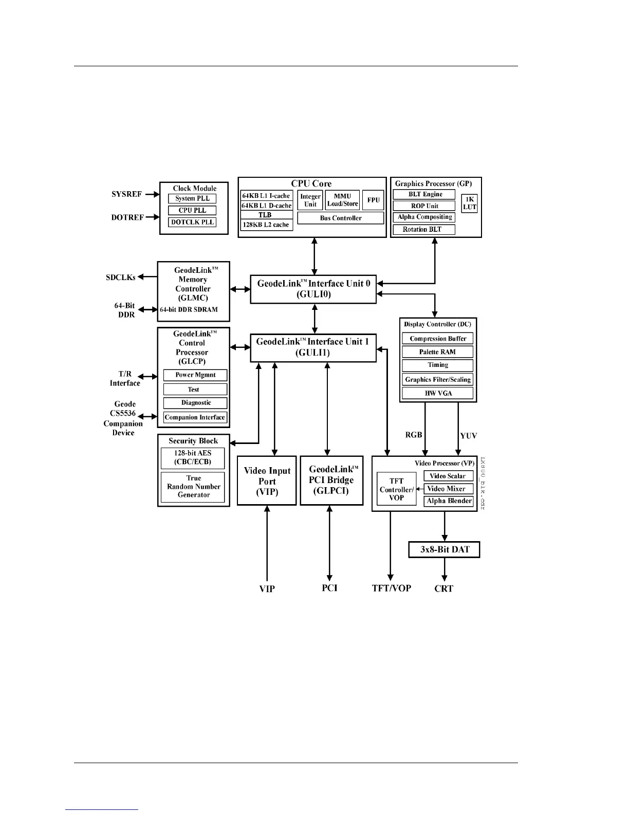
LX800 Processor and TFT Controller
LX800 Processor and TFT Controller
REF: ABRD88 - Sheets 1, 2, 5 and 6
Figure 2-3 displays a block diagram of the LX800 processor.
Figure 2-3: AMD Geode LX800 Processor/TFT Controller Block Diagram

Table of Contents