EasyManua.ls Logo

Monaco 2002 Diplomat - Page 185

Default Icon
324 pages
Print Icon
To Next Page IconTo Next Page
To Next Page IconTo Next Page
To Previous Page IconTo Previous Page
To Previous Page IconTo Previous Page
Loading...
11. Open the shower faucets and toilet valves to allow a small
amount of antifreeze to run into the holding tanks.
12. Use a soft cloth to wipe out the sinks and shower to protect surface
from antifreeze stains.
13. Exterior faucet should be opened and closed using the same
procedures as the interior faucets.
14. If the motorhome is equipped with an ice maker, remove the ¾
inch fitting and flush antifreeze through the water line.
15. Turn water pump off.
16. Disconnect the power supply line affecting water pump operation.
De-winterization:
For de-winterization, drain off the fresh tank and fill the fresh tank with
water. Reconnect the power supply line for the water pump. Operate all
faucets, one at a time, until clear water is present. Install new water filter and
fill water heater with water.
WARNING: Use only non-toxic RV antifreeze that is specifi-
cally made for potable water systems. Automotive antifreeze,
if ingested, can cause blindness, deafness or death.
WARNING: It is recommended that this procedure be done
by a qualified RV service technician familiar with
motorhomes, such as the authorized selling dealer.
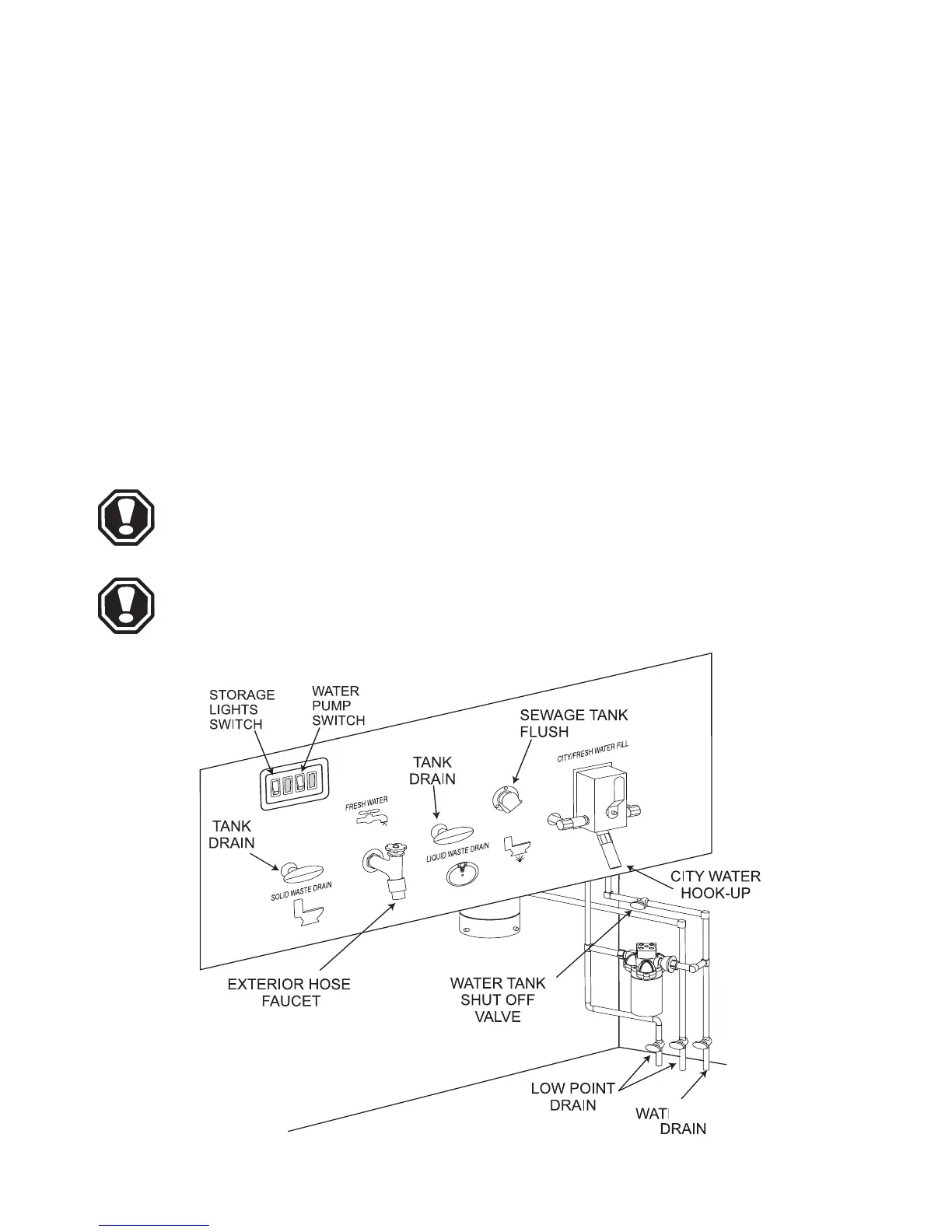
Water Systems
------------------------------------------------------------------------------------------------------------------------------------------------------------------------------------------------------------------------------------------------------------------------------------------------------------------
DIPLOMAT
6•185
OM040448.eps

Table of Contents

Related product manuals