EasyManua.ls Logo

Omron CP - PROGRAMMING MANUAL 05-2007 - Page 196

Omron CP - PROGRAMMING MANUAL 05-2007
1175 pages
Print Icon
To Next Page IconTo Next Page
To Next Page IconTo Next Page
To Previous Page IconTo Previous Page
To Previous Page IconTo Previous Page
Loading...
163
Sequence Control Instructions Section 3-4
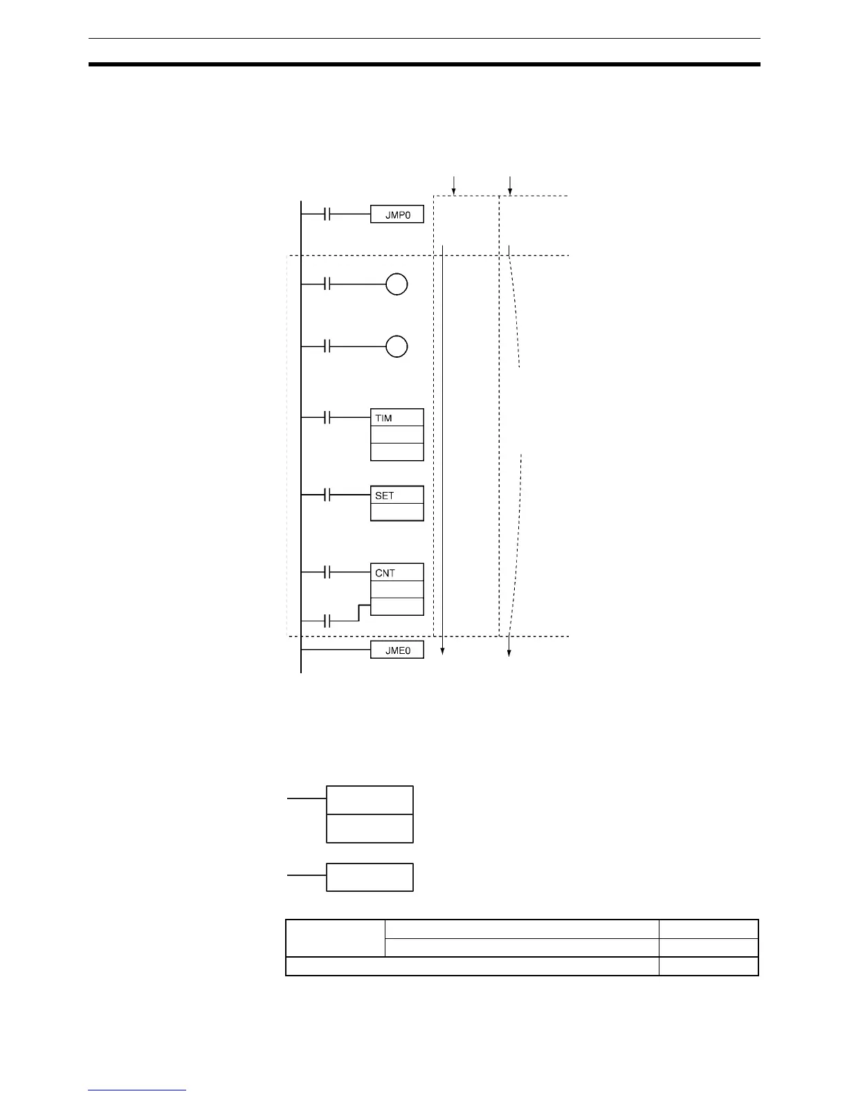
Example When CIO 0.00 is OFF in the following example, the instructions between
JMP0(515) and JME0(516) are processed as NOP(000) instructions and the
outputs maintain their previous status.
When CIO 0.00 is ON in the following example, the instructions between
JMP0(515) and JME0(516) are executed normally.
3-4-9 FOR-NEXT LOOPS: FOR(512)/NEXT(513)
Purpose The instructions between FOR(512) and NEXT(513) are repeated a specified
number of times. FOR(512) and NEXT(513) are used in pairs.
Ladder Symbols
Variations
CIO 0.00
ON
CIO 0.00
OFF
0.00
Instructions
processed
as
NOP(000).
(Outputs re-
main un-
changed.)
Normal
execution
FOR(512)
N
NEXT(513)
N: Number of loops
Variations Executed Each Cycle for ON Condition FOR(512)
Executed Each Cycle for ON Condition NEXT(513)
Immediate Refreshing Specification Not supported

Table of Contents

Related product manuals