EasyManua.ls Logo

Omron CP - PROGRAMMING MANUAL 05-2007 - Output Not: out Not

Omron CP - PROGRAMMING MANUAL 05-2007
1175 pages
Print Icon
To Next Page IconTo Next Page
To Next Page IconTo Next Page
To Previous Page IconTo Previous Page
To Previous Page IconTo Previous Page
Loading...
114
Sequence Output Instructions Section 3-3
Description If there is no immediate refreshing specification, the status of the execution
condition (power flow) is written to the specified bit in I/O memory. If there is
an immediate refreshing specification, the status of the execution condition
(power flow) is also written to the CPU Unit’s output terminal in addition to the
output bit in I/O memory.
Flags There are no flags affected by this instruction.
Precautions Immediate refreshing (!) can be specified for OUT and OUT NOT. An immedi-
ate refresh instruction updates the status of the output terminal on the CPU
Unit just after the instruction is executed at the same time as it writes the sta-
tus of the execution condition (power flow) to the specified output bit in I/O
memory.
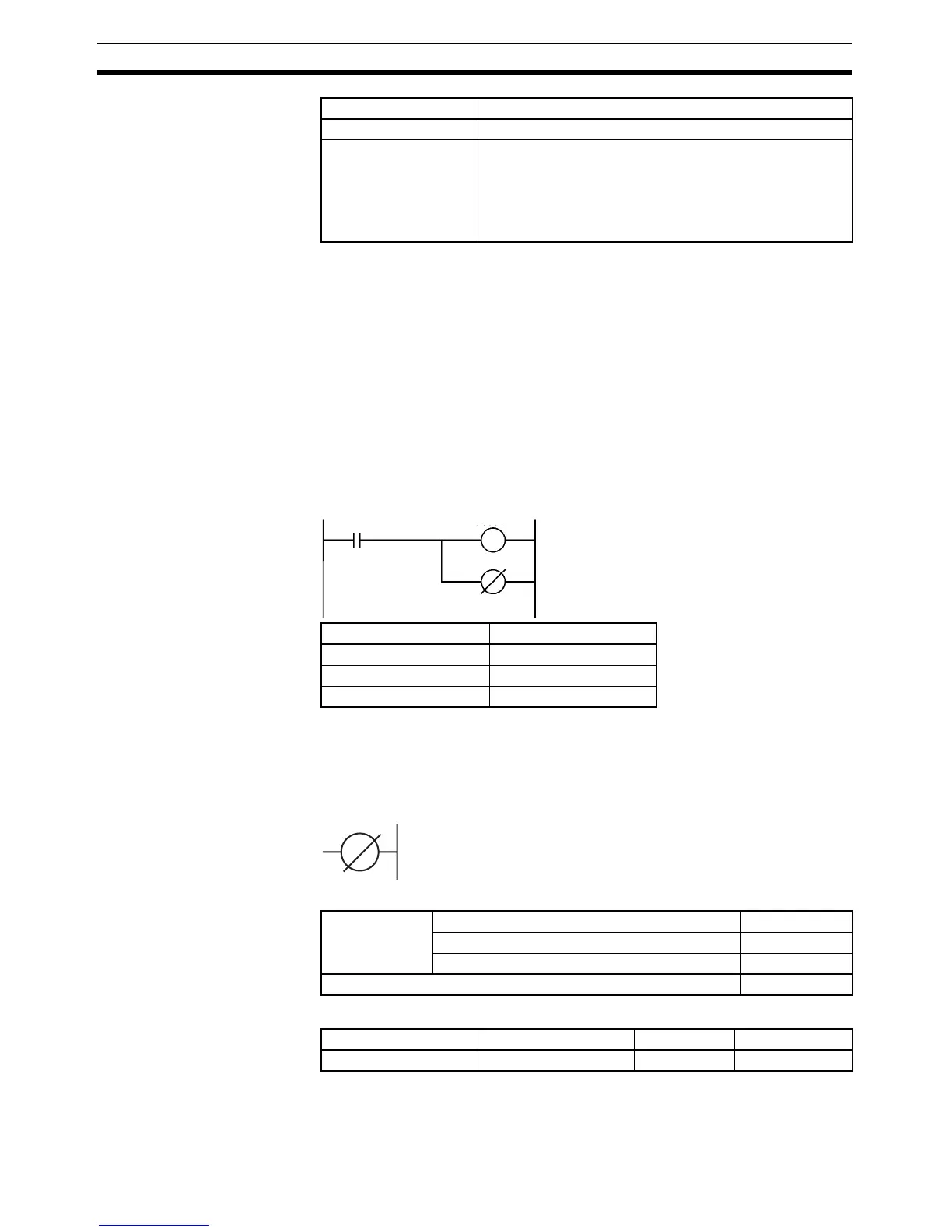
Example
3-3-2 OUTPUT NOT: OUT NOT
Purpose Reverses the result (execution condition) of the logical processing, and out-
puts it to the specified bit.
Ladder Symbol
Variations
Applicable Program Areas
Index Registers ---
Indirect addressing
using Index Registers
,IR0 to ,IR15
–2048 to +2047 ,IR0 to –2048 to +2047 ,IR15
DR0 to DR15, IR0 to ,IR15
,IR0+(++) to ,IR15+(++)
,–(– –)IR0 to, –(– –)IR15
Area OUT bit operand
Instruction Operand
LD 0.00
OUT 100.00
OUT NOT 100.01
0.00
100.00
100.01
Variations Executed Each Cycle for ON Condition OUT NOT
Executed Once for Upward Differentiation Not supported.
Executed Once for Downward Differentiation Not supported.
Immediate Refreshing Specification !OUT NOT
Block program areas Step program areas Subroutines Interrupt tasks
Not allowed OK OK OK

Table of Contents

Related product manuals