EasyManua.ls Logo

Omron CP - PROGRAMMING MANUAL 05-2007 - Always Set to; Debugging Instructions; Hour (00 to 23, BCD); Month (01 to 12, BCD)

Omron CP - PROGRAMMING MANUAL 05-2007
1175 pages
Print Icon
To Next Page IconTo Next Page
To Next Page IconTo Next Page
To Previous Page IconTo Previous Page
To Previous Page IconTo Previous Page
Loading...
932
Debugging Instructions Section 3-27
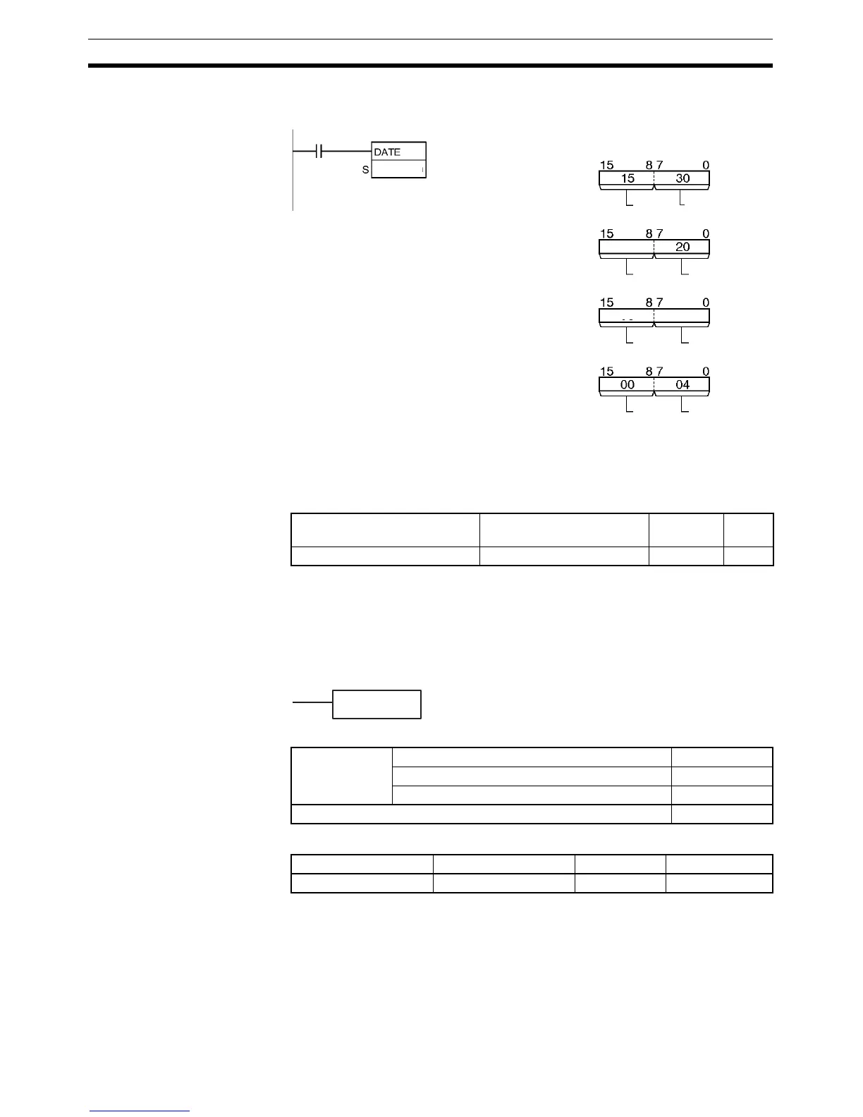
Examples When CIO 0.00 turns ON in the following example, the internal clock is set to
20:15:30 on Thursday, May 2, 2005.
3-27 Debugging Instructions
This section describes instructions used to debug programs.
3-27-1 Trace Memory Sampling: TRSM(045)
Purpose When TRSM(045) is executed, the status of a preselected bit or word is sam-
pled and stored in Trace Memory. TRSM(045) can be used anywhere in the
program, any number of times.
Ladder Symbol
Variations
Applicable Program Areas
0.00
D100
02
05 05
S: D100
D101
D102
D103
Second
Hour
Minute
Day of
the month
Year Month
Always
set to 00.
Day of the week
Instruction Mnemonic Function
code
Page
Trace Memory Sampling TRSM 045 932
TRSM(045)
Variations Executed Each Cycle TRSM(045)
Executed Once for Upward Differentiation Not supported
Executed Once for Downward Differentiation Not supported
Immediate Refreshing Specification Not supported
Block program areas Step program areas Subroutines Interrupt tasks
OK OK OK OK

Table of Contents

Related product manuals