EasyManua.ls Logo

Omron CP - PROGRAMMING MANUAL 05-2007 - Page 748

Omron CP - PROGRAMMING MANUAL 05-2007
1175 pages
Print Icon
To Next Page IconTo Next Page
To Next Page IconTo Next Page
To Previous Page IconTo Previous Page
To Previous Page IconTo Previous Page
Loading...
715
High-speed Counter/Pulse Output Instructions Section 3-20
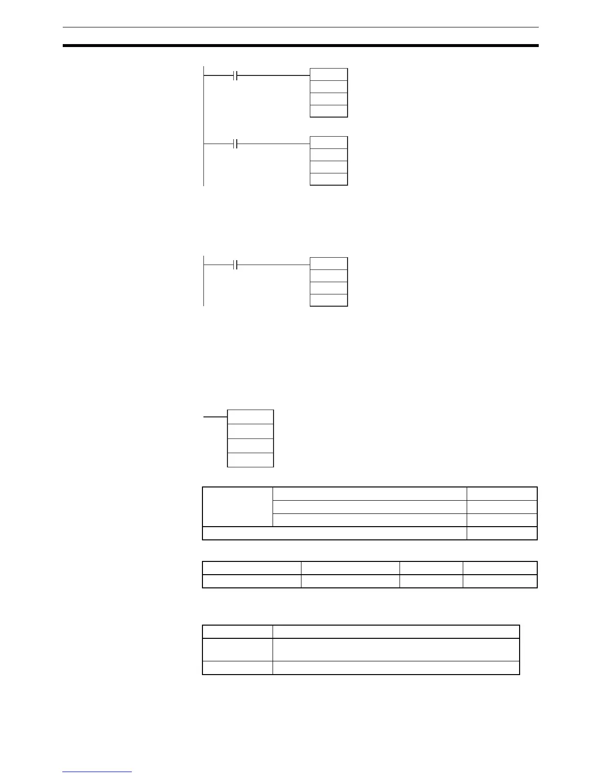
Example 2
When CIO 0.01 turns ON in the following programming example, PRV(881)
reads the frequency of the pulse being input to high-speed counter 0 at that
time and stores it as a hexadecimal value in D201 and D200.
3-20-3 COUNTER FREQUENCY CONVERT: PRV2(883)
Purpose PRV2(883) reads the pulse frequency input from a high-speed counter and
either converts the frequency to a rotational speed or converts the counter PV
to the total number of revolutions. The result is output to the destination words
as 8-digit hexadecimal. Pulses can be input from high-speed counter 0 only.
Ladder Symbol
Variations
Applicable Program Areas
Operands C1: Control Data
The function of PRV2(883) is determined by the control data, C1.
Note The second digit of C (@) specifies the units and the third digit (*) specifies
the frequency calculation method.
@CTBL
#0000
#0001
D100
0.00
@PRV
#0010
#0002
100
0.01
Range comparison table
registration and comparison star
t
High-speed counter input 0
Read range comparison results
High-speed counter input 0
PRV
#0010
#0003
D200
0.01
High-speed counter input
0
Read input frequency
PRV2
C1
C2
D
C1: Control data
C2: Pulses per revolution
D: First destination word
Variations Executed Each Cycle for ON Condition PRV2(883)
Executed Once for Upward Differentiation @PRV2(883)
Executed Once for Downward Differentiation Not supported
Immediate Refreshing Specification Not supported
Block program areas Step program areas Subroutines Interrupt tasks
OK OK OK OK
C1 PRV2(883) function
0@*0 hex
(See note.)
Converts frequency to rotation speed.
0001 hex Converts counter PV to total number of revolutions.

Table of Contents

Related product manuals