EasyManua.ls Logo

Optimum OPTImill MT 60 - Frästischverstellung - Milling Table Adjusting

Optimum OPTImill MT 60
110 pages
Print Icon
To Next Page IconTo Next Page
To Next Page IconTo Next Page
To Previous Page IconTo Previous Page
To Previous Page IconTo Previous Page
Loading...
Version 1.0.4 - 2020-8-4 75Originalbetriebsanleitung
MT60 DE | EN
MT60_parts.fm
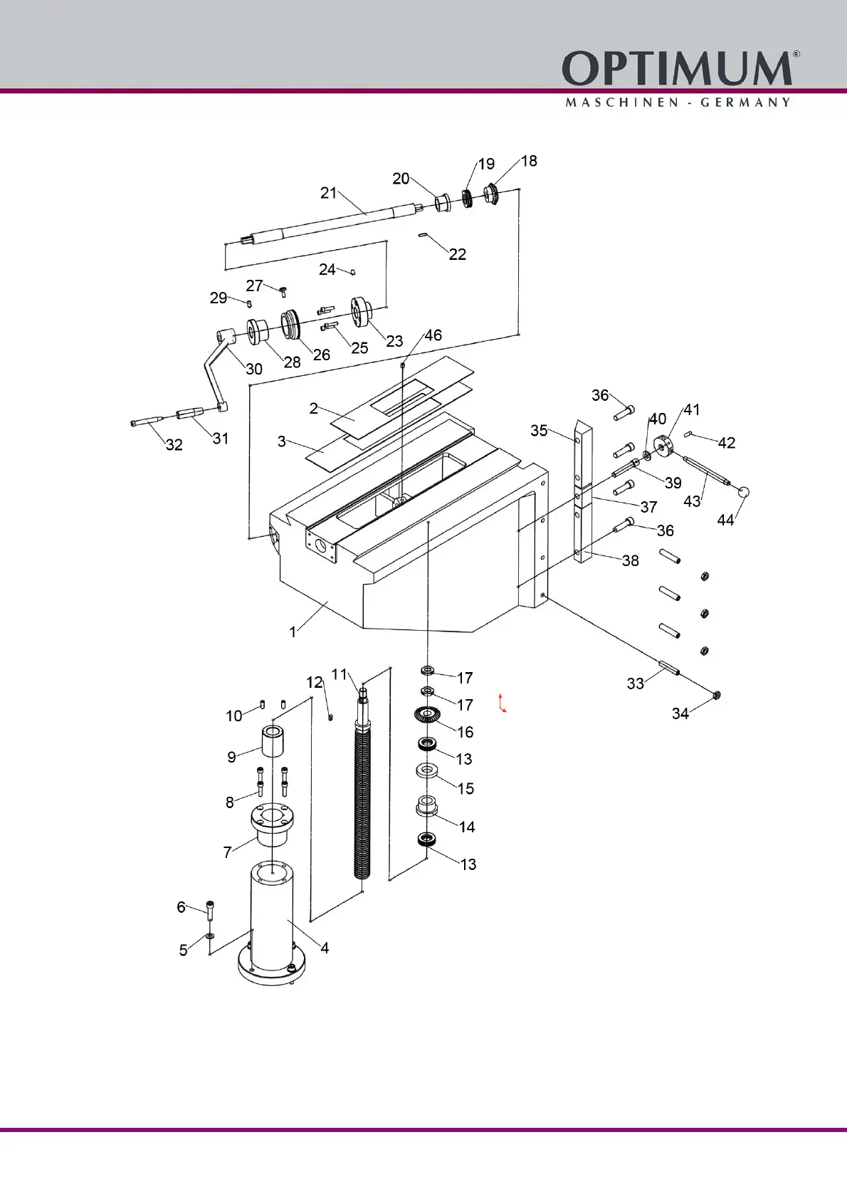
7.6 Frästischverstellung - Milling table adjusting
Img.7-2: Frästischverstellung - Milling table adjusting

Table of Contents

Related product manuals