EasyManua.ls Logo

Panasonic DBS 40 - Page 87

Panasonic DBS 40
159 pages
Print Icon
To Next Page IconTo Next Page
To Next Page IconTo Next Page
To Previous Page IconTo Previous Page
To Previous Page IconTo Previous Page
Loading...
Chapter 4. Trunks and Lines
Section 300-Installation
EM/24
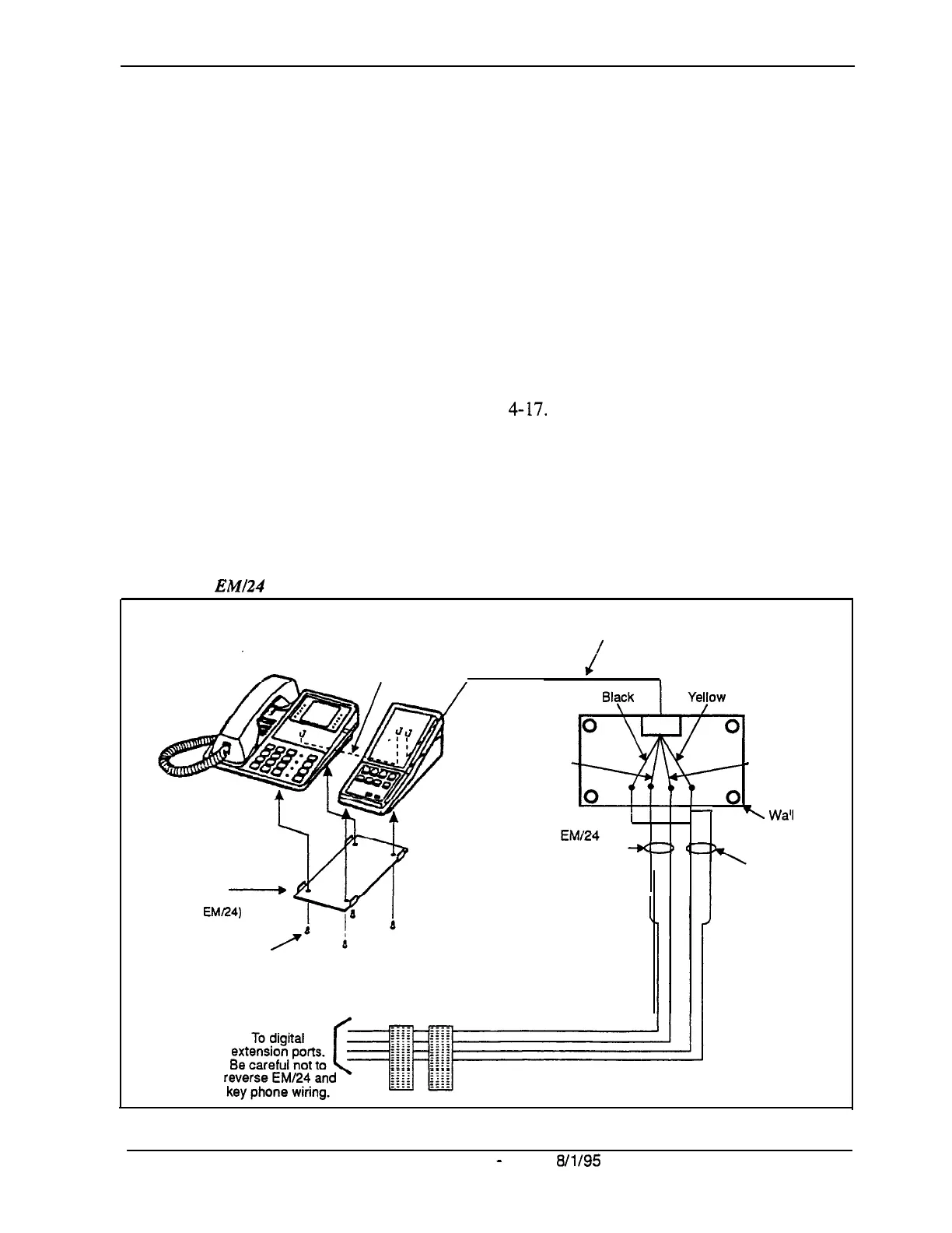
Guidelines
l
The EM/24 (VB-43310) provides 24 flexible function (FF) keys. It can be
attached to any key phone.
l
The EM/24 comes with a mounting bracket, screws, and a two-conductor
cable for attaching it to a key phone.
Installation
1.
Attach the EM/24 to the key phone using the mounting plate and the four
screws, as shown in Figure
4-17.
2.
Connect the EM/24 to the key phone using the two-conductor cable.
3.
Connect the EM/24 to the wall jack using a four-conductor cable.
4.
Connect the four wires from the key phone and EM/24 to the MDF
connector.
Figure 4-17.
EM124
connection using one cable with two pairs
Four-Conductor
Cable
Two-Conductor
Cable
Fled
Aounting Plate
-b
for attaching the
elephone and
EMR4)
Flat-Head Screw
-
Green
-
2
Wall
Mount
Modular Jack
Two-Conductor
--KZb
Cable
Digital Telephone
Two-Conductor
Cable
4-42
DBS Manual
-
issued
8/l/95
DBS-70-300
Technical Manuals Online! - http://www.tech-man.com

Table of Contents

Related product manuals