EasyManua.ls Logo

Panasonic SA-BT100P - Disassembly of Wireless Adapter; Disassembly of DSP P.C.B

Panasonic SA-BT100P
174 pages
Print Icon
To Next Page IconTo Next Page
To Next Page IconTo Next Page
To Previous Page IconTo Previous Page
To Previous Page IconTo Previous Page
Loading...
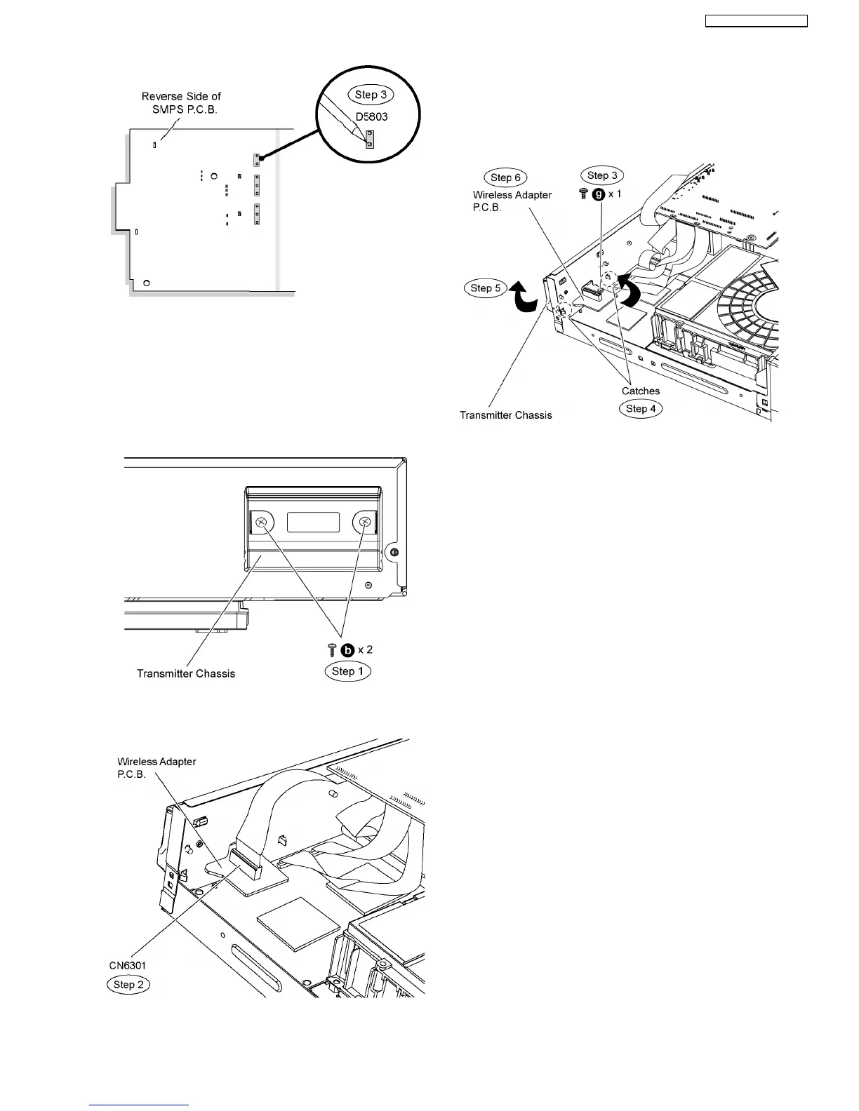
Special Note: Ensure pins of the regulator diode (D5803) are
properly seated and soldered on SMPS P.C.B.
10.21. Disassembly of Wireless
Adapter P.C.B.
Follow (Step 1) to (Step 3) of Item 10.3.
Step 1 Release 2 screws at the Digital Transmitter chasis.
Step 2 Detach 19P FFC cable at the connector (CN6301) on
wireless adapter P.C.B.
Step 3 Remove 1 screw on wireless adapter P.C.B.
Step 4 Relese 2 catches at the rear panel.
Step 5 Remove Digital Transmitter chasis in the direction of
arrow.
Step 6 Remove wireless adapter P.C.B in the direction of
arrow.
Caution: Remove the Wireless Adapter P.C.B carefully to
avoid damage the electrical components on P.C.B..
10.22. Disassembly of DSP P.C.B.
Follow (Step 1) to (Step 3) of Item 10.3.
Follow (Step 1) to (Step 6) of Item 10.21.
Step 1 Remove 4 screws on DSP P.C.B.
Step 2 Detach 20P FFC cable at the connector (CN3002) on
DSP P.C.B.
Step 3 Detach 24P FFC cable at the connector (CN3005) on
DSP P.C.B.
Step 4 Detach 15P FFC cable at the connector (CN3001) on
DSP P.C.B.
Step 4 Remove the DSP P.C.B.
57
SA-BT100P / SA-BT100PC

Table of Contents

Related product manuals