EasyManua.ls Logo

Piper TURBO ARROW III - ELT Schematic (Typical)

Piper TURBO ARROW III
594 pages
Print Icon
To Next Page IconTo Next Page
To Next Page IconTo Next Page
To Previous Page IconTo Previous Page
To Previous Page IconTo Previous Page
Loading...
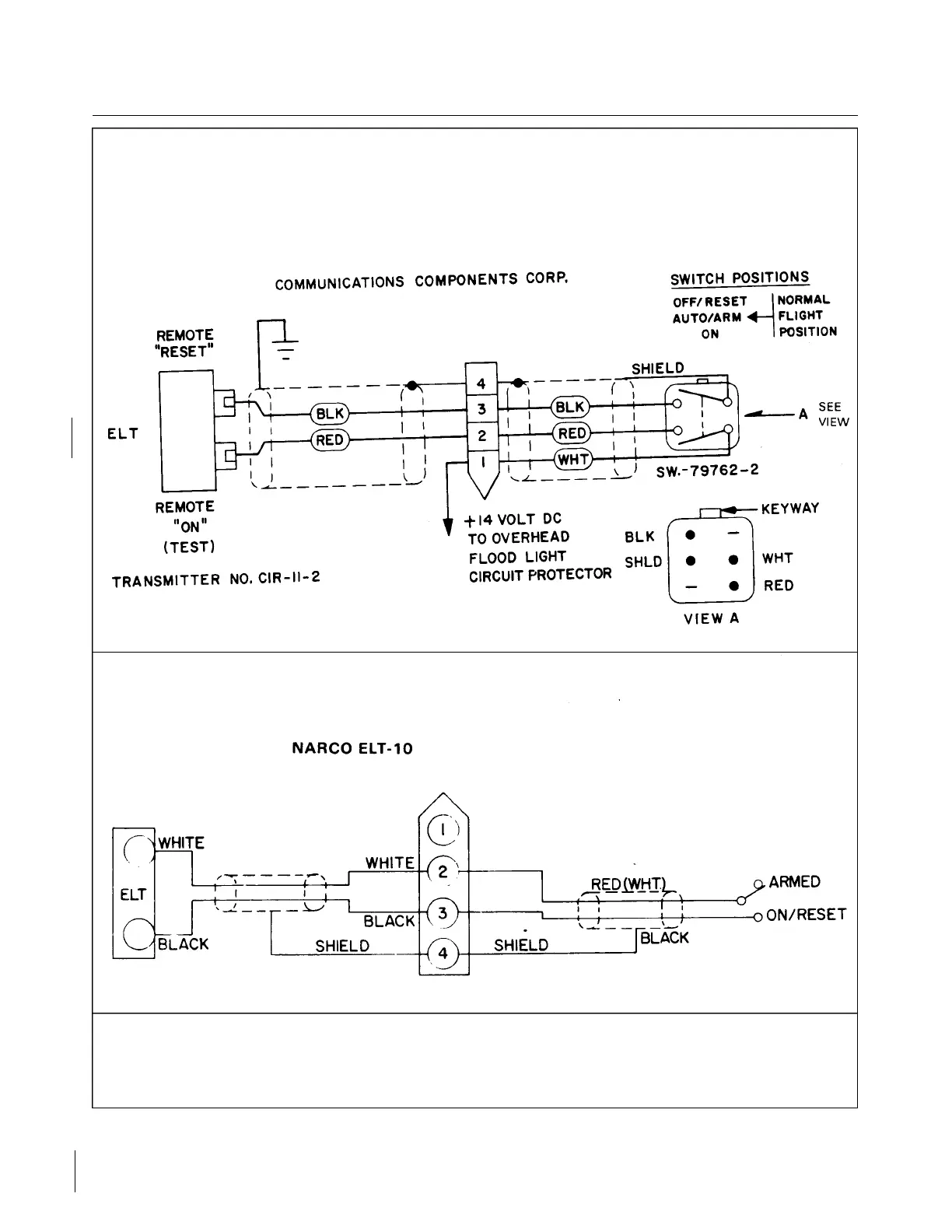
Figure 12-1. ELT Schematic (Typical)
Revised: 2/13/89
2K3
CHEROKEE ARROW III SERVICE MANUAL
ELECTRONICS
NOTE: AIRCRAFT POWER USED TO SHUT OFF THE ELT WITH REMOTE SWITCH.

Table of Contents

Related product manuals