EasyManua.ls Logo

ROBOTIQ AX10 - Page 44

ROBOTIQ AX10
154 pages
Print Icon
To Next Page IconTo Next Page
To Next Page IconTo Next Page
To Previous Page IconTo Previous Page
To Previous Page IconTo Previous Page
Loading...
AX10 Palletizing Solution
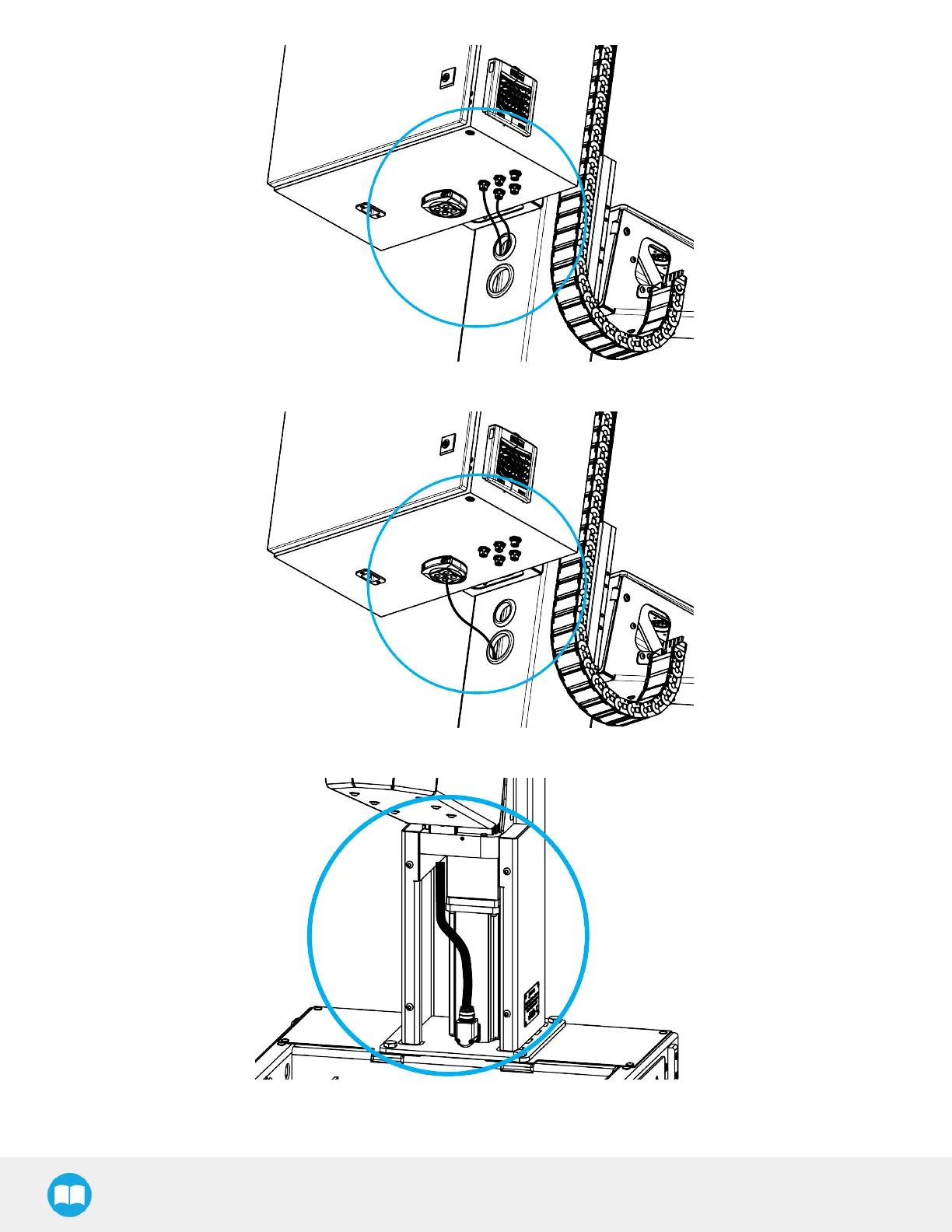
3. Push the linear axis cable into the column via hole #5 and bring it out at the front of the column.
4. Connect the linear axis cable to the linear axis.
5. Push the grounding (green) cable of the linear axis controller into the column via hole #5 and bring it out at the front of the
column.
44

Related product manuals