EasyManua.ls Logo

Santerno Sinus M - 3.5 Optional External Relay

Santerno Sinus M
219 pages
Print Icon
To Next Page IconTo Next Page
To Next Page IconTo Next Page
To Previous Page IconTo Previous Page
To Previous Page IconTo Previous Page
Loading...
3-8
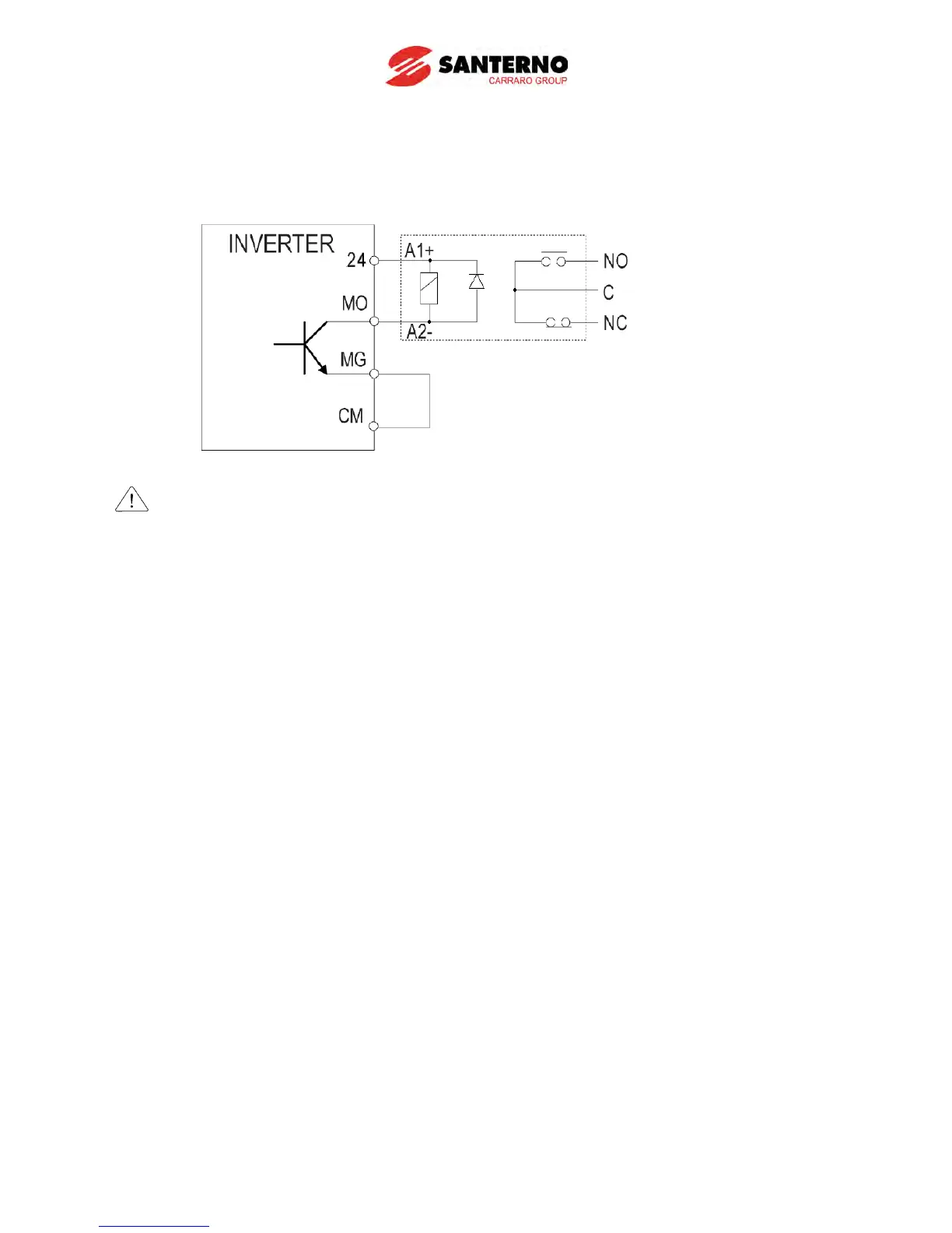
3.5 Optional External Relay
An optional external relay with a +24Vdc coil may be connected to the Open Collector output as
shown below:
Caution: Respect the features of terminals MO and MG.
Notes:

Table of Contents

Other manuals for Santerno Sinus M