EasyManua.ls Logo

Schaerer Ambiente 2 - 5.3.2 Outside cleaning

Schaerer Ambiente 2
260 pages
Print Icon
To Next Page IconTo Next Page
To Next Page IconTo Next Page
To Previous Page IconTo Previous Page
To Previous Page IconTo Previous Page
Loading...
Chapter 3 Functional descriptions
SMSO-2-02.03- 15.07.03 65
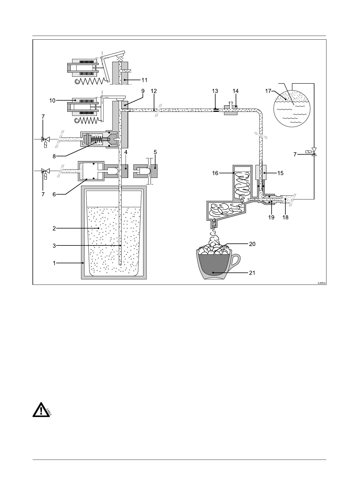
An illustration of the principle of preparing milk or milk foam.
The two systems are basically designed in the same way. For
foam preparation there is an additional aeration valve in the
refrigerator-foamer head connecting pipe.
1 Cooling area of the refrigerator
2 Milk / milk container
3 Suction tube
4 Squeeze housing
5 Suction line squeeze action
6 Water cylinder (squeeze cylinder)
7 Solenoid valve
8 Non-return valve
9 Ventilation valve
10 Dynamic coil magnet
11 Ventilation valve open
12 Milk pipe refrigerator to foamer head
13 Baffle
14 Air valve
15 Nipple
16 Foamer head
17 Steam generator
18 Steam pipe
19 Injector nozzle
20 Milk foam
21 Coffee (cappuccino)
Safety regulations for transporting, erecting and operat-
ing the refrigerator.
MATERIAL DAMAGE
The refrigerator cooling system functions
only when the appliance is standing upright.
In any other position the refrigerant may not
be drawn up by the compressor and the ap-
pliance could then be damaged.
For this reason the refrigerator must always be oper-
ated in an upright position.
During transport it must be laid down only on the
right hand side, and forwards (viewed from the front).
Having been transported in a tilted position, it must
be allowed to stand upright for at least six (6) hours
before it is allowed to operate (i.e. before it is
switched on).
The heat from the cooling unit must be vented off. If
cooling is insufficient the cooling efficiency inside
the cabinet reduces, and the cool ingredients are in-
sufficiently cooled.

Table of Contents

Other manuals for Schaerer Ambiente 2

Related product manuals