EasyManua.ls Logo

Seiki VS50 - Search of Word

Seiki VS50
139 pages
Print Icon
To Next Page IconTo Next Page
To Next Page IconTo Next Page
To Previous Page IconTo Previous Page
To Previous Page IconTo Previous Page
Loading...
1 - 32
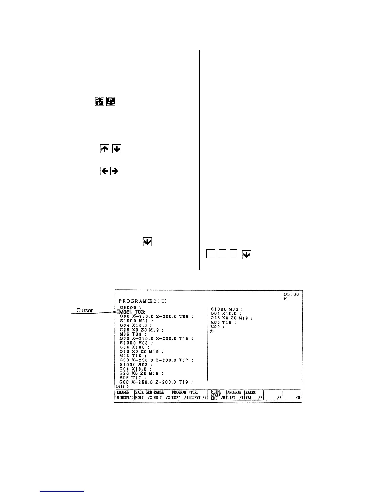
8-2 Search of Word
A word can be searched by the following method.
1) A method by means of the page and cursor
keys.
[1] Press the page key and display the
page to be edited.
[2] Press the cursor key and move the
cursor to the word to be edited.
The cursor moves at a block unit by
the
keys.
The cursor moves at a word unit by
the
keys.
2) A method by means of word or address
search.
Since a message is displayed as Not found
if it is not found, try it again.
[1] Word search, No. search
Key in the address and numerals to be
searched and press
key.
Example: M06
M 0 6

Table of Contents