EasyManua.ls Logo

Siemens SIPROTEC 5 - Page 267

Siemens SIPROTEC 5
302 pages
Print Icon
To Next Page IconTo Next Page
To Next Page IconTo Next Page
To Previous Page IconTo Previous Page
To Previous Page IconTo Previous Page
Loading...
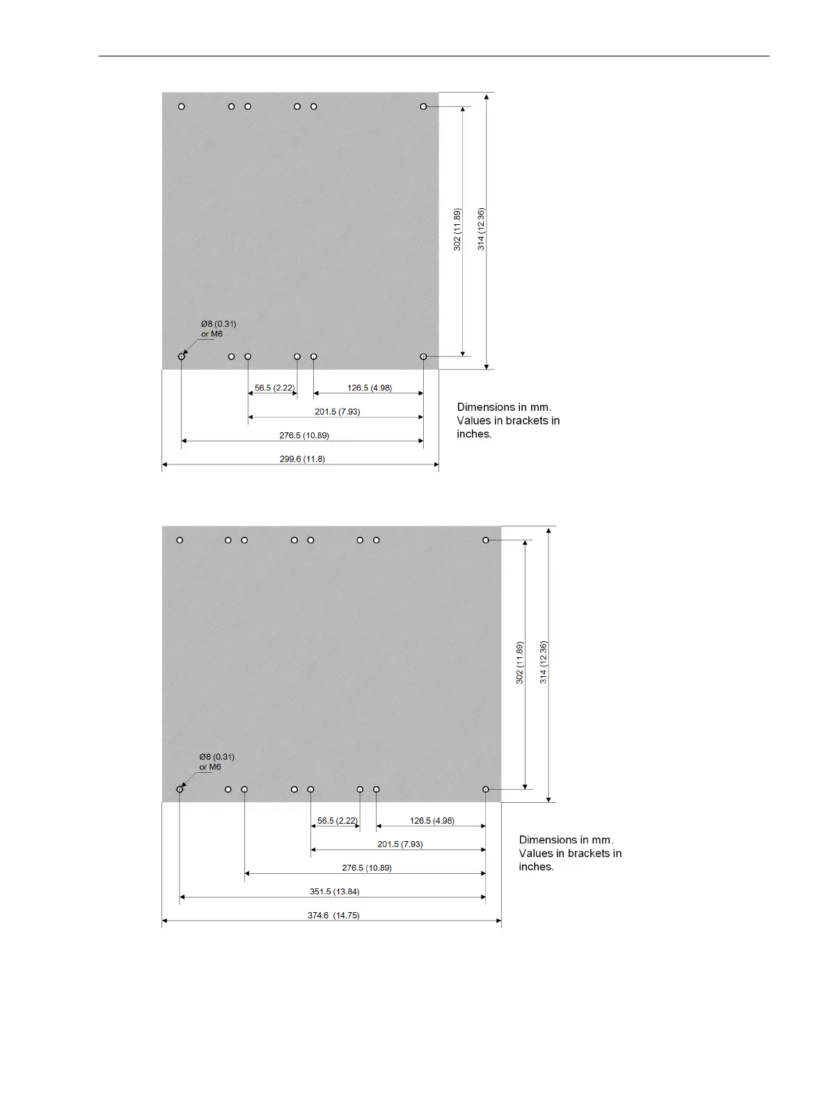
[dwbohrge-2_3.vsd, 3, en_US]
Figure 6-17
Drilling Pattern of a 2/3 Surface-Mounted Device – 1st Device Row
[dwbohrge-5_6.vsd, 3, en_US]
Figure 6-18
Drilling Pattern of a 5/6 Surface-Mounted Device – 1st Device Row
Technical Data
6.14 Assembly Dimensions
SIPROTEC 5, Hardware Description, Manual 267
C53000-G5040-C002-N, Edition 04.2022

Table of Contents

Other manuals for Siemens SIPROTEC 5

Related product manuals