EasyManua.ls Logo

Sony ICP-X7000

Sony ICP-X7000
126 pages
To Next Page IconTo Next Page
To Next Page IconTo Next Page
To Previous Page IconTo Previous Page
To Previous Page IconTo Previous Page
Loading...
ICP-X7000
2-8 (E)
2. Installation Space
When installing, the installation space must be secured in
consideration of the ventilation and service operation.
. Do not block the ventilation slots at the left side and right
side panels, and vents of the fans.
. Leave a space around the unit for ventilation.
. Leave more than 40 centimeters of space in the rear of
the unit to secure the work area.
When the unit is installed on the desk or the like, leave at
least 4 centimeters of space in the left and right sides.
Leaving 40 centimeters or more of space above the unit is
recommended for service operation.
Moreover, an air flow that is effective in cooling the unit is
essential. If the ventilation is not enough, the unit may be
damaged because of an increase of the internal tempera-
ture.
n
This unit is air-cooled by the fans. The operation with the
upper lid is removed affects the air cooling by the fans.
Complete the work in a short time as possible when operat-
ing the unit for inspection with the upper lid removed.
In case of a work with the unit turned on for a long time,
take an action, such as cooling by electric fan, to avoid rise
in temperature.
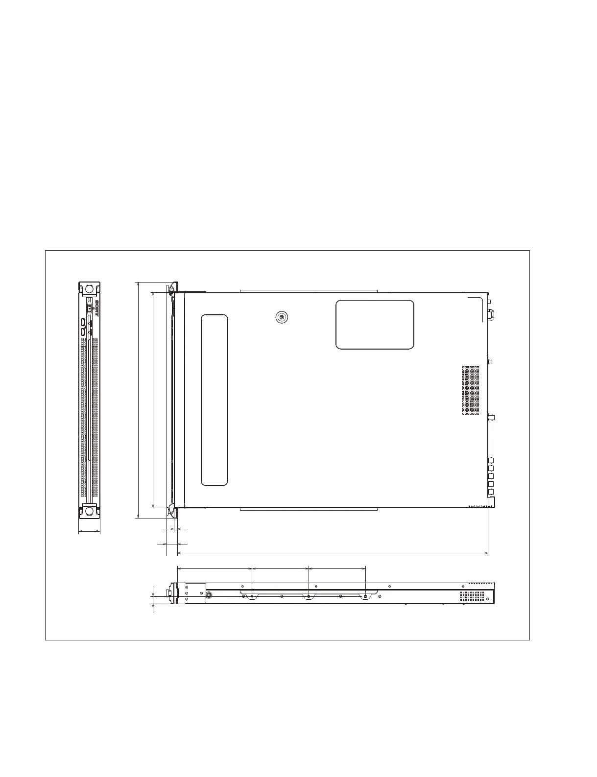
482
43.6
7
22
633.8
152.5 115.5 115.5
440
15.3
Unit : mm
Mass of this unit (not including option) : approx. 14 kg

Table of Contents

Other manuals for Sony ICP-X7000

Related product manuals