EasyManua.ls Logo

Still EK-X - Page 70

Still EK-X
120 pages
Print Icon
To Next Page IconTo Next Page
To Next Page IconTo Next Page
To Previous Page IconTo Previous Page
To Previous Page IconTo Previous Page
Loading...
4 Operation
Driving
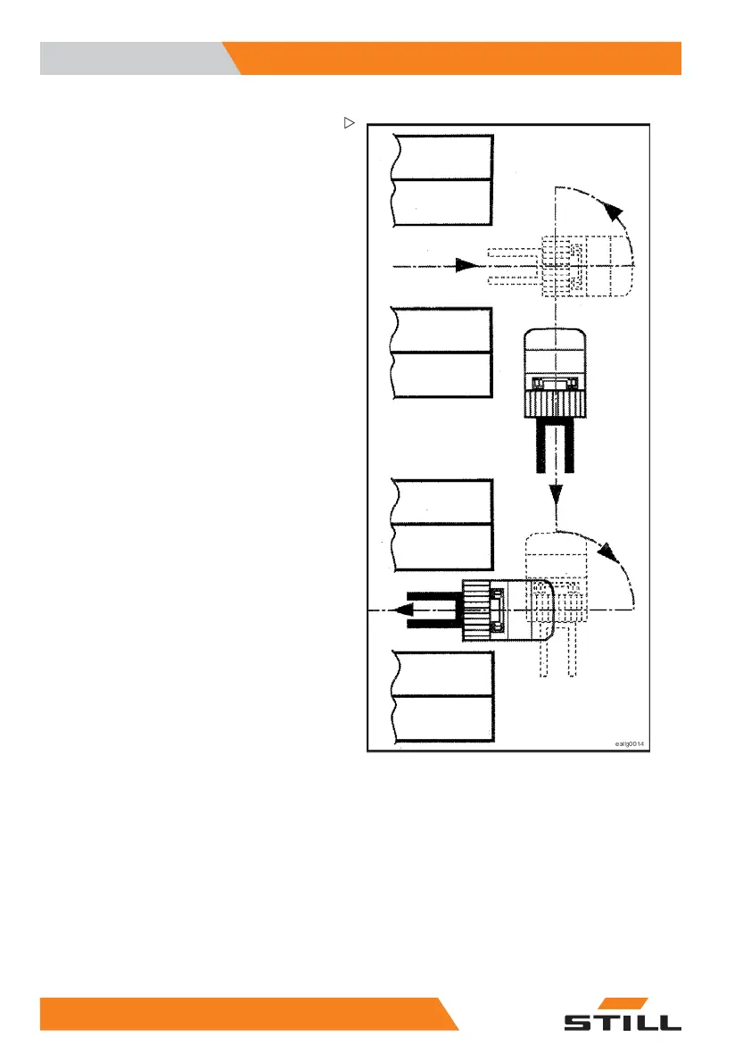
Changing the rack aisles
If the truck is to be moved from one rack aisle to
the other, i. e. to be transferred, the following
advice has to be observed:
Before leaving the rack aisle,
make sure that
the steering knob is set to stra
ight travel.
The total length of truck must be moved out
of the rack.
Travel out of the rack aisle slowly and pay
attention to persons or other vehicles which
could be in the transfer aisles.
Once the truck is located out
side of the
rail, the steering by the rai
lswitchisagain
operative - the truck can b
e turned on the
spot through 90 °. Now the t
ruck can be
movedtothetargetaisle.
If the truck is turned back by 90 ° at the right
place, then it is positioned, ready to enter, in
front of the new rack aisle.
This driving technique for changing rack aisles
- transferring - is illustrated in the adjacent
sketch.
Diagonal travel
Diagonal travel is the n
ame given to combi-
nation of the functions
drive and lift cab / drive
and lower cab.
Diagonal travel is also admissible outside the
aisle. This means that it is also admissible
here to travel and lift or lower the cab at the
same time.
Press the foot switch (release brake)
By deflecting the cont
rol lever and the op-
erating rocker switc
h in the correspond-
ing direction the mo
vements “Drive for-
wards/backwards an
d raise/lower cab lift”
Both movements can be steplessly con-
trolled.
64
5213 804 2501 EN - 01/2016

Table of Contents

Related product manuals