EasyManua.ls Logo

Still EK-X - Battery on Roller Tracks

Still EK-X
120 pages
Print Icon
To Next Page IconTo Next Page
To Next Page IconTo Next Page
To Previous Page IconTo Previous Page
To Previous Page IconTo Previous Page
Loading...
Special equipment 7
Battery on roller tracks
adjustment range is approx. 30 mm on
each side. Both locks must be adjusted
symmetrically.
NOTE
Ifabatteryisbeingusedinach
assis for the
first time, the actions describ
ed below may
need to be repeated in severa
lsteps. Ifthe
rubber buffer thread (sprin
g element) is not
able to move smoothly, this m
ust be rectified
before setting.
Insert the battery approximately in the
centre of the battery compartment. In doing
so, one of the battery locks will remain as a
stop in the truck.
Rotate the knurled-head screw (1) and the
rubber buffer (3) all the way back (4) on both
locks (2).
Insert the second battery
lock into the truck.
Unscrew both rubber buffers until they
lie against the battery. The visible thread
length should be roughly the same on
both sides of the battery. Gently move
the battery to the side, if necessary The
maximum adjustment range for each rubber
buffer is approximately 20 mm.
If the useable threads on both rubber buffers
are not long enough to fasten the buffers
to the battery, the knurled-head screws
must be screwed in further to increase
the adjustment range. At the same time,
the rubber buffers must rotate with the
knurled-head screws.
Tension can now be incr
eased by screwing
one of the two knurled-
head screws in
further. Tighten the k
nurled-head screws
hand tight. The batte
ry lock is well clamped
if the rubber buffer i
s clearly deformed.
If sufficient clamping is not achieved via
these steps, it is possible that a battery with
incorrect dimensions is being used. The
truck must not be used if the battery is not
securely locked. Doing so would result in
the risk of accidents and damage.
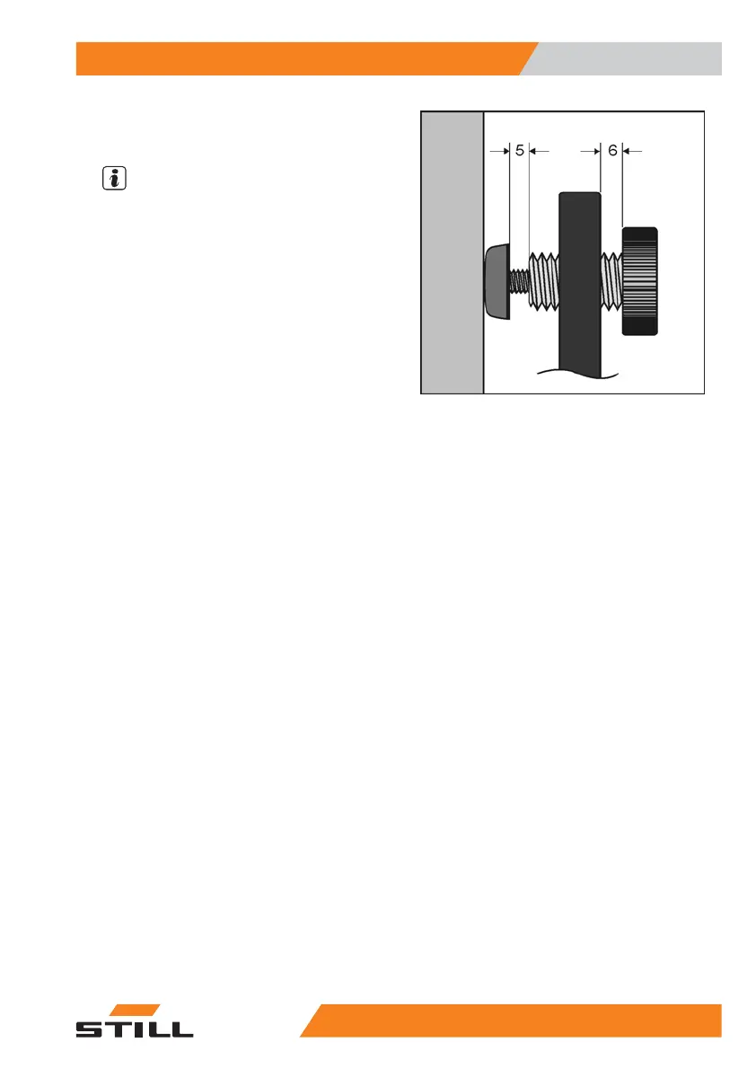
When the clamping has been carried out, a
thread must still be visible at (5) and (6).
52
13 804 2501 EN - 01/2016 105

Table of Contents

Related product manuals