EasyManua.ls Logo

Tektronix 2230 - Page 334

Tektronix 2230
483 pages
To Next Page IconTo Next Page
To Next Page IconTo Next Page
To Previous Page IconTo Previous Page
To Previous Page IconTo Previous Page
Loading...
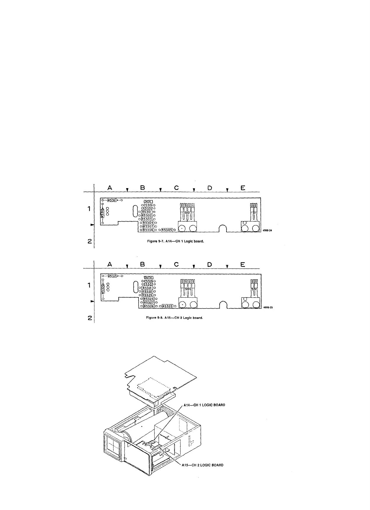
A14CH 1 LOGIC BOARD

Table of Contents

Other manuals for Tektronix 2230

Related product manuals