EasyManua.ls Logo

Tektronix TG8000 - Page 342

Tektronix TG8000
498 pages
To Next Page IconTo Next Page
To Next Page IconTo Next Page
To Previous Page IconTo Previous Page
To Previous Page IconTo Previous Page
Loading...
HD3G7 HD 3 Gb/s SDI Video Generator module
HD3G7 m odule
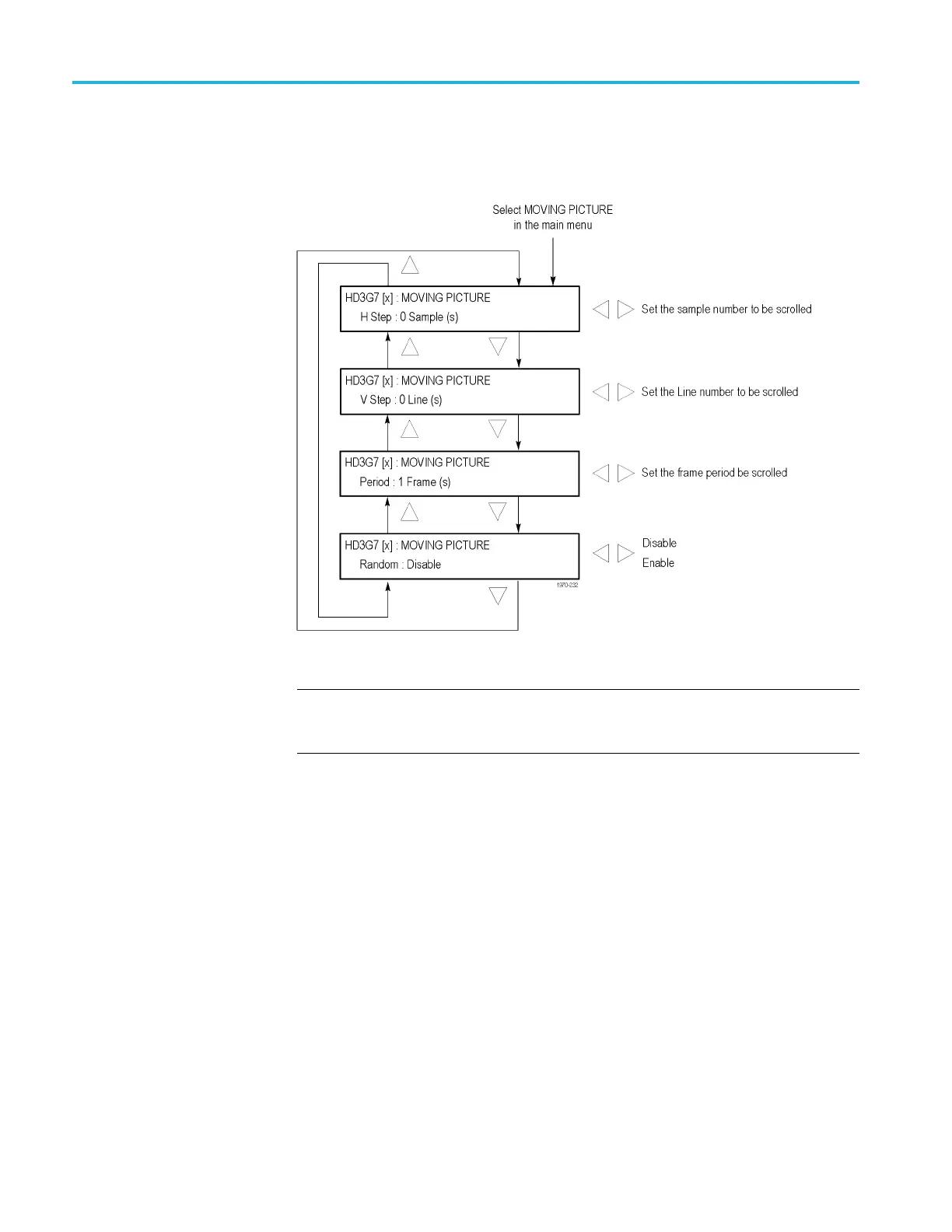
MOVING PICTURE
submenu
Usethismenuto
scroll the active picture area of the serial digital video signal
up/down or left/right (or randomly), when in generator mode. Use the up ()or
down () arrow button to scroll through the menu shown below.
Figure 3-87: HD3G7 module MOVING PICTURE submenu
NOTE. Moving picture mode is not available with zone plate signals. However,
zone plate signals may be dened with motion in the zone plate parameters. (See
page 3-173, To modify a zone plate signal on the HD3G7 module.)
HStep. Sets the number of samples to be scrolled per frame set in the Period
menu item. Use the left ()orright()arrowbuttontosetthevaluefrom
–252 to +252 in 4-sample steps.
VStep. Sets the number of line
s to be s crolled per frame set in the Period menu
item. Use the left () or right () arrow button to set the value from –252 to
+252 in 1-line steps.
Period. Sets the time interval between occurrences of the scrolling. Use the left
()orright() arrow button to set the value from 1 to 16 in 1-frame steps.
Random. Sets whether or not the picture scrolls randomly. Use the left ()or
right () arrow button to select between Disable and Enable.PresstheENTER
buttontoconrm the selection.
3–192 TG8000 Multiformat Test Signal Generator User Manual

Table of Contents

Other manuals for Tektronix TG8000

Related product manuals