EasyManua.ls Logo

Tektronix TG8000 - Page 383

Tektronix TG8000
498 pages
To Next Page IconTo Next Page
To Next Page IconTo Next Page
To Previous Page IconTo Previous Page
To Previous Page IconTo Previous Page
Loading...
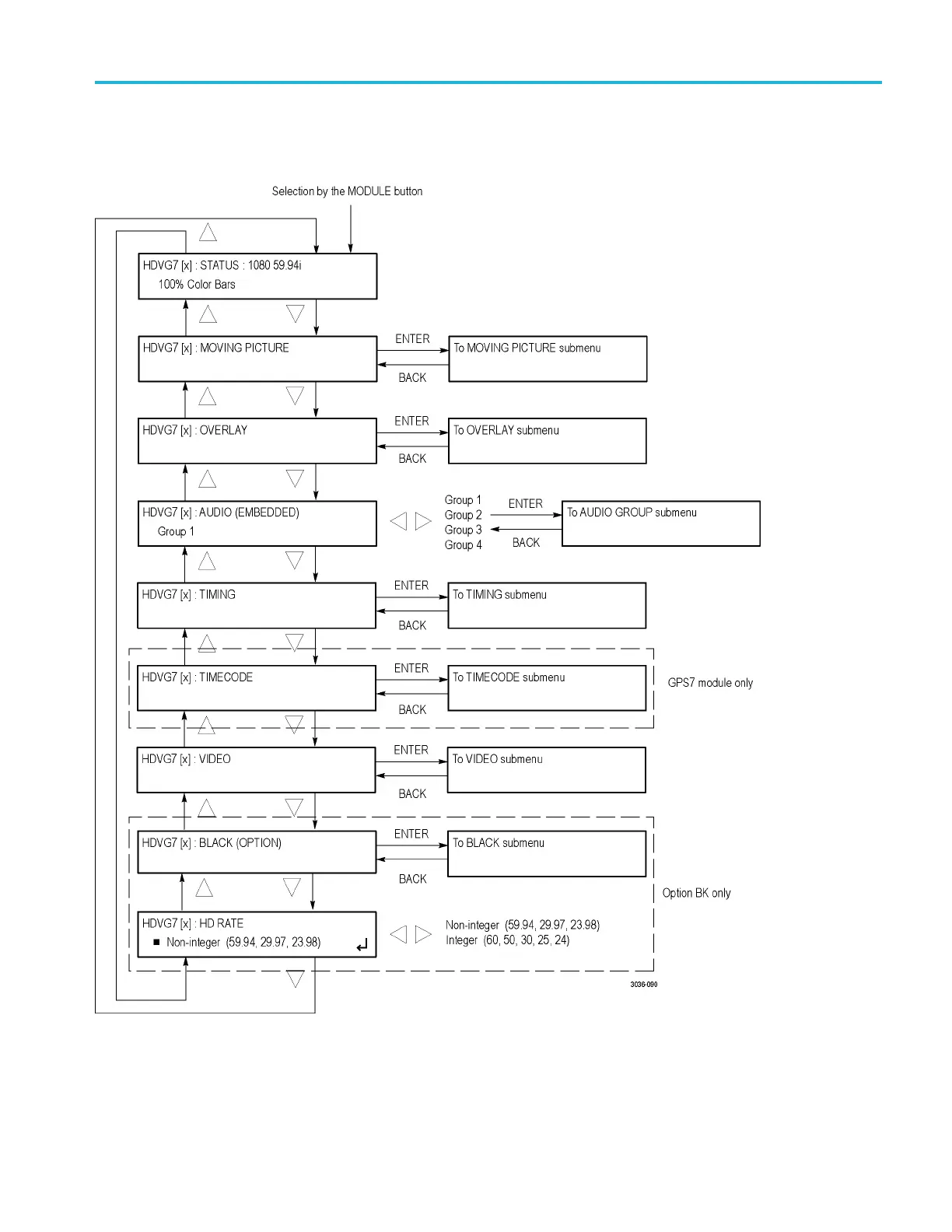
HDVG7 HDTV Digital Video Generator module
Use the up ()or
down () arrow button to scroll through the main menu. The
following gure shows the HDVG7 module main menu.
Fi
gure 3-103: HDVG7 module main menu
TG8000 Multiformat Test Signal Generator User Manual 3–233

Table of Contents

Other manuals for Tektronix TG8000

Related product manuals