EasyManua.ls Logo

Teletek electronics AVA - Page 30

Teletek electronics AVA
64 pages
Print Icon
To Next Page IconTo Next Page
To Next Page IconTo Next Page
To Previous Page IconTo Previous Page
To Previous Page IconTo Previous Page
Loading...
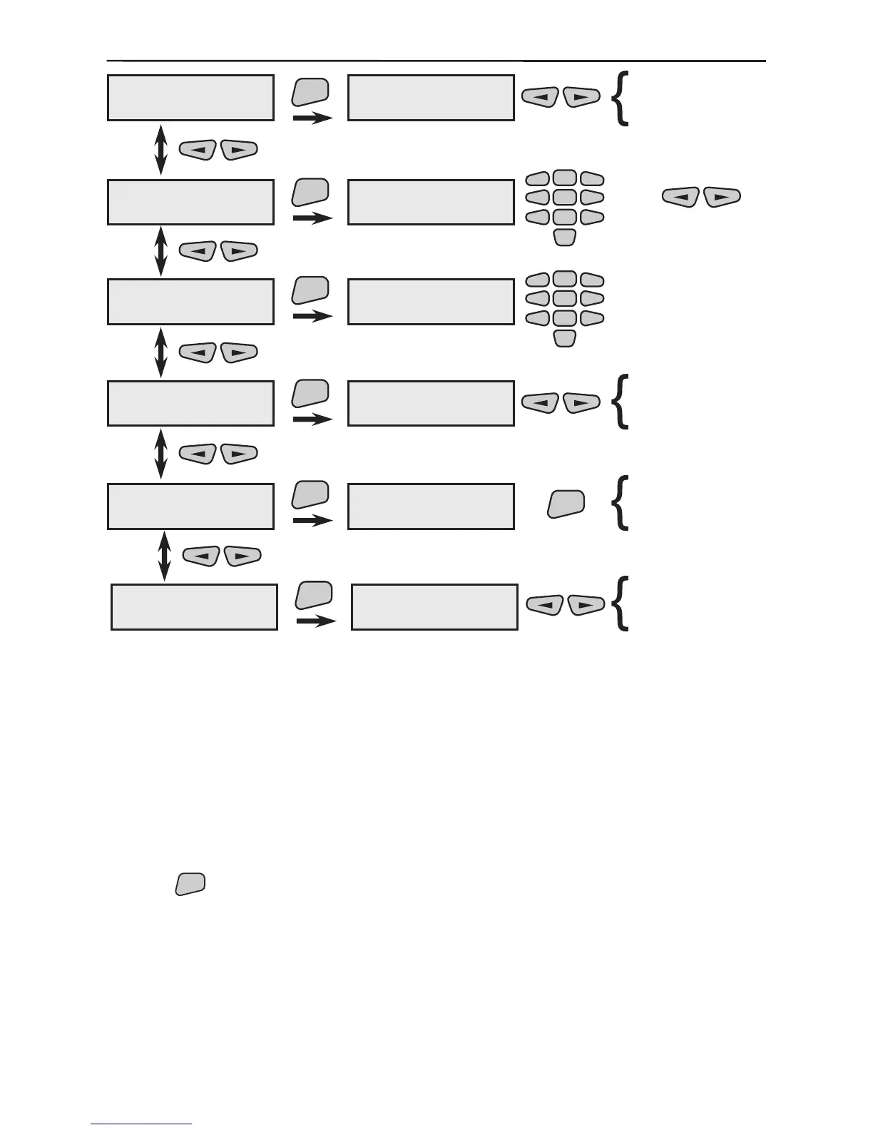
30 3. Programming
Menu for selecting the degree of sensor sensitivity.
The default preset degree is normal.
The performance is as described in §3.1.3.
The performance is as described in §3.1.2.
The performance is as described in §3.1.2.
The performance is as described in §3.1.2.
The performance is as described in §3.1.3.
Use the
ENT
button to conrm all entered data and changes.
not used
-4 degree Ñ
-2 degree Ñ
0 degree Ñ
+2 degree Ñ
+5 degree Ñ
+15 degree Ñ
+25 degree Ñ
FIRE01
1)Sensitivity
FIRE01
2)Fire Group
ENT
ENT
2)Fire Group
N:06
FIRE01
3)Change name
1)Sensitivity
normal
ENT
3)Change name
FIRE01
-
2
5
8
0
1
3
4
6
79
2
5
8
0
1
3
4
6
79
-
FIRE01
4)Enable/Disable
ENT
FIRE01
ENABLED
enable?
disable?
FIRE01
5)Remove
ENT
FIRE01
remove?
ENT
are you sure?
FIRE01
6)LowTemperature
ENT
6)LowTemperature
not used
or
low
normal
high
2)Fire Group
3)Change name
4)Enable/Disable
5)Remove
6)LowTemperature
1)Sensitivity

Table of Contents

Other manuals for Teletek electronics AVA

Related product manuals