EasyManua.ls Logo

Thames Side Smart Series - Transmission Port Configuration

Thames Side Smart Series
72 pages
Print Icon
To Next Page IconTo Next Page
To Next Page IconTo Next Page
To Previous Page IconTo Previous Page
To Previous Page IconTo Previous Page
Loading...
Configuration and Calibration
3-12
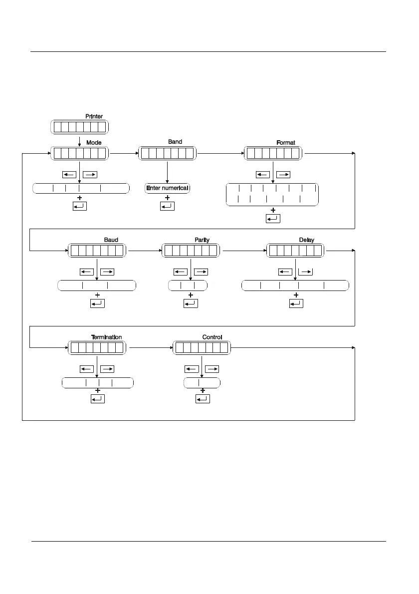
3.5 Transmission Port
(Accessible only after having installed the RS-232 second port accessory)
Within the configuration transmission port, parameters showed in Figure 3.5.1 can be
found.
Figure 3.5.1 Transmission Port
OFF
st ti auto autot
f1
f2 f3 f4 f5 f6 f7
f8 f9 f10 f11
19200
8n
Off
250
7e
4800 9600
7o
500 1000 2000
Off
Crlf
Cr Et None
on
p
b
p
b
tc
f
t
r
a
a
a
e
n
o
y
i
n
r
u
rt
r
p
n
d
d
l
e
t
d
e
e
r
l
f12 f13

Table of Contents