EasyManua.ls Logo

Thames Side Smart Series - Tools Menu

Thames Side Smart Series
72 pages
Print Icon
To Next Page IconTo Next Page
To Next Page IconTo Next Page
To Previous Page IconTo Previous Page
To Previous Page IconTo Previous Page
Loading...
Configuration and Calibration
3-28
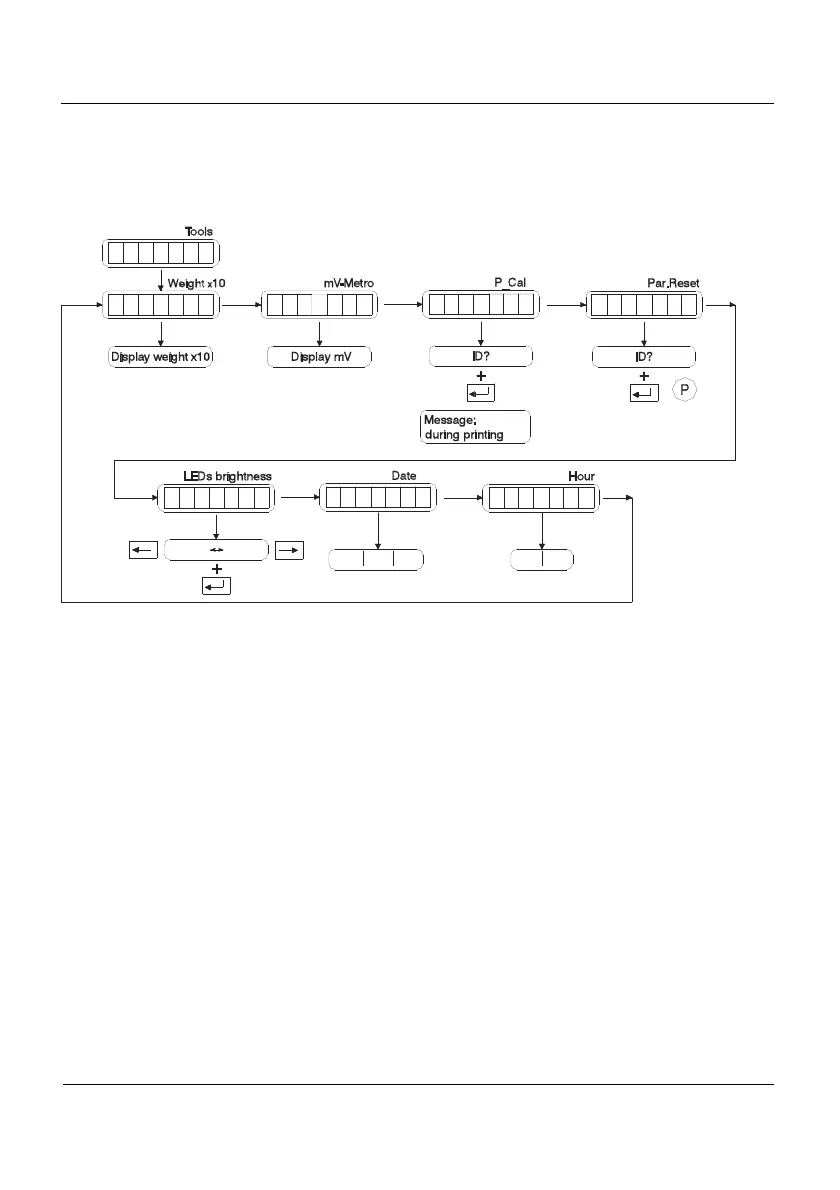
3.12 Tools
Within the tools level, parameters showed in Figure 3.12.1 can be found.
u
s
print
p
p
ha
e
l
t
i
r
_
rl
t
i
g
e
c
e
l
n
s
a
s
l
01 01 00
int_1 int_6
h
d
ne
o
a
td
u
t
i
r
e
12 00
Figure 3.12.1 Tools
3.12.1 Weightx10 (h_res)
Displays the weight with a resolution multiplied by ten.
3.12.2 MV-Metro (signal)
Displays the ADC output in mV.
3.12.3 Print Cal (p_cal)
Prints the equipment parameters.
3.12.4 Par.Reset (preset)
Resets all the parameters to the default configuration.

Table of Contents