EasyManua.ls Logo

Thermo King RD-MT - Figure 76: Clutch

Thermo King RD-MT
190 pages
Print Icon
To Next Page IconTo Next Page
To Next Page IconTo Next Page
To Previous Page IconTo Previous Page
To Previous Page IconTo Previous Page
Loading...
Hilliard Clutch Maintenance
131
14. Place the hub and shoe assembly into the
housing and place flatwasher over the bearing.
15. Apply Loctite #680 to 3/8-16x1 screw and
install through washer into housing shaft. The
housing and hub will be drawn together to the
proper relative position as the screw is
tightened. Tighten the screw to 30 to 35 ft-lbs
(41 to 48m).
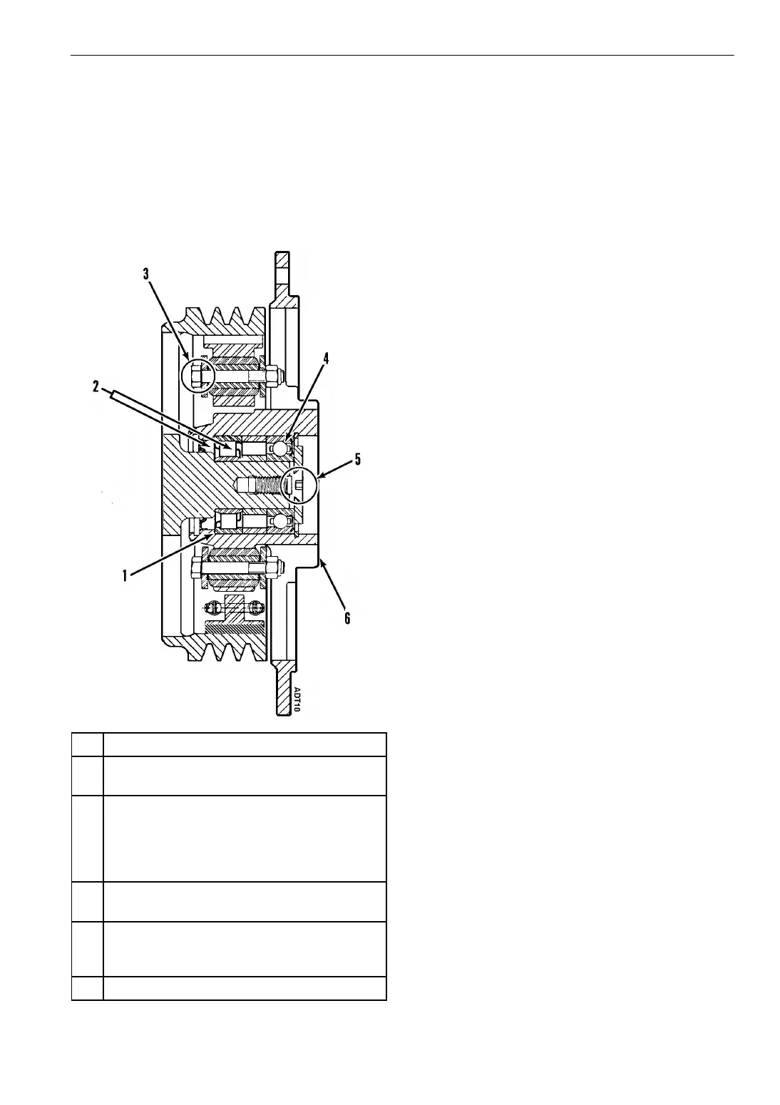
1. Roller Bearing, Pack with Mobil 28 Grease
2. Pack These Areas with Mobil 28 Grease at
Assembly
3. HEX HD Cap Screw (6X), 1-4/28 UNF X 1.75
Long. Torque to 110 ± 5 in-lbs (12.5 ± 0.6 Nm)
NOTE: Shoes must be disengaged while
tightening 6 bolts and MUST be held tightly
against hub while nuts are tightened.
4. Bearing, Fill with Mobil 28 Grease
Approximately 0.32 oz (70 to 80% full)
5. 3/8-16 UNC x 1.00 Long, Flat Head Socket
Cap Screw with Nylox Insert / Apply Loctite 680
and Torque to 30 to 35 ft-lb (41 to 48 Nm)
6. Serial Nameplate
Figure 76: Clutch

Table of Contents

Related product manuals