EasyManua.ls Logo

TR-Electronic CEV-65 - Behavior

TR-Electronic CEV-65
Print Icon
To Next Page IconTo Next Page
To Next Page IconTo Next Page
To Previous Page IconTo Previous Page
To Previous Page IconTo Previous Page
Loading...
Parameterization
TR-Electronic GmbH 2008, All Rights Reserved Printed in the Federal Republic of Germany
Page 108 of 155 TR - ECE - BA - DGB - 0073 - 07 06/27/2017
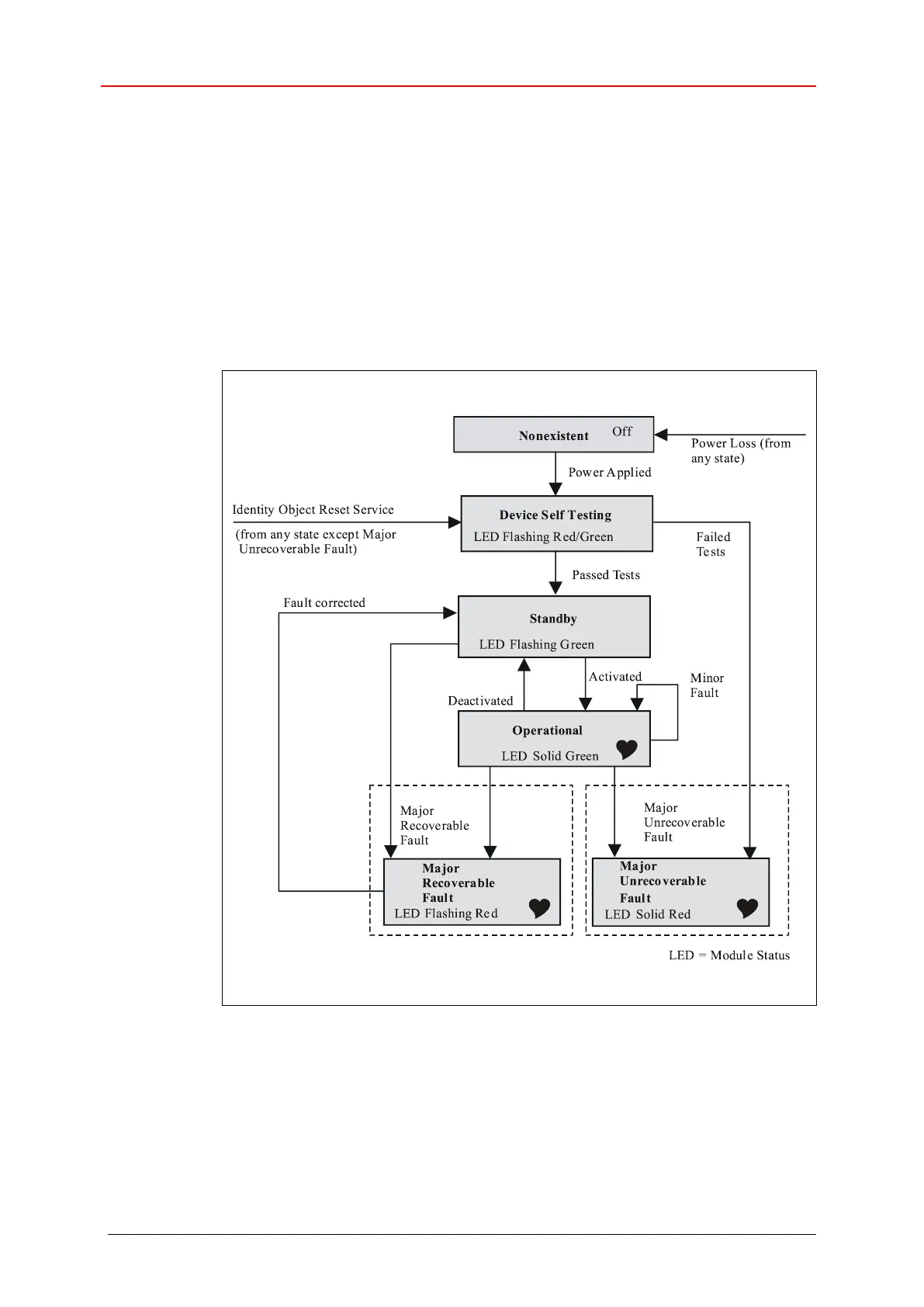
7.2.4 Behavior
The behavior of the Identity Object is illustrated in the State Transition Diagram.
This State Transition Diagram associates the state of the device with the status
reported by the Status Attribute with the state of the Module Status LED.
The measuring system is not able to communicate in the Major Unrecoverable
Fault state. Therefore, it might not be able to report a Major Unrecoverable
Fault. It will not process a Reset service. The only exit from a Major
Unrecoverable Fault is to cycle power.
Heartbeat messages are only triggered after the measuring system has successfully
completed the network access state machine and is online.
Figure 6: State Transition Diagram [Source: ODVA EtherNet/IP Specification]

Table of Contents

Related product manuals