EasyManua.ls Logo

Tsuruga 3587 - GENERAL SET Flow

Default Icon
57 pages
Print Icon
To Next Page IconTo Next Page
To Next Page IconTo Next Page
To Previous Page IconTo Previous Page
To Previous Page IconTo Previous Page
Loading...
MODEL 3587 - 10 -
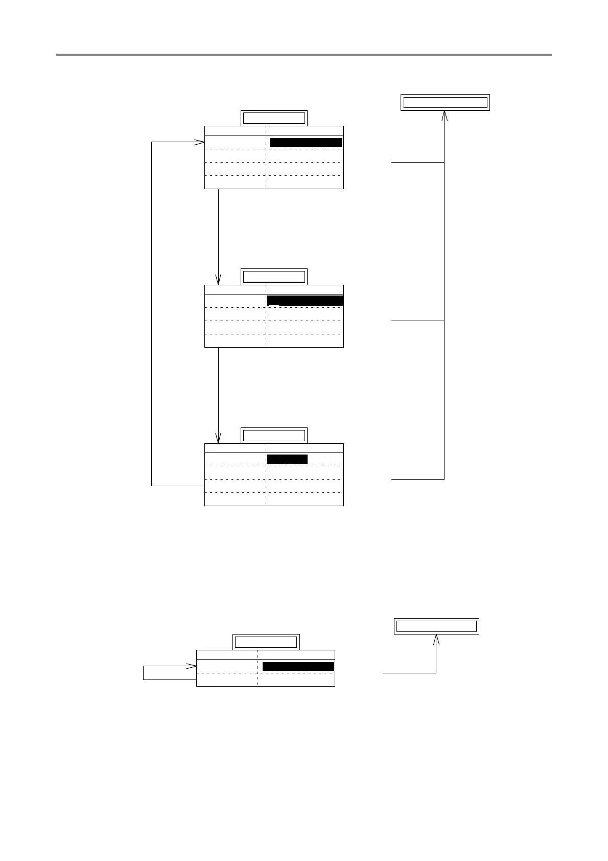
3.4.2 GENERAL SET flow
3.4.3 SYSTEM SET flow
F4[ENT]
F4[ENT]
F4[ENT]
10.0s
REMOTE
MANUAL
EXT.CTRL OFF
SAMPLING FAST
POWER FRQ 60Hz
CNTCT CHK
ON
BUZZ MODE OFF
BUZZ VOL 1
ONLINE
RS BPS 19200BPS
RS PRITY NONE
GENERAL SET 1/3
GENERAL SET 2/3
GENERAL SET 3/3
Measurement screen
Function
to measurement screen
Memorize and return
to measurement screen
Memorize and return
to measurement screen
Memorize and return
Function
Function
Note: When POWER FRQ is selected, if F1「SEL」key
is pressed, 2/3 of the screen switches to
Note: When BUZZ VOL is selected, if F1「SEL」key
is pressed, 3/3 of the screen switches to
Note: When RS PARITY is selected, if F1「SEL」key
is pressed, 1/3 of the screen switches to
MEMORY SET.
MEMORY SET.
MEMORY SET.
Contents
Contents
Contents
F1[SEL] Operation of function (Downward only)
F1[SEL] Operation of function (Downward only)
F1[SEL] Operation of function (Downward only)
F2[▲]、F3[▼] Switching between contents
F2[▲]、F3[▼] Switching between contents
F2[▲]、F3[▼] Switching between contents
F4[ENT]
DISCHARGE DISABLE
CONTRAST 3
SYSTEM SET
Measurement screen
Fanction
to measurement screen
Memorize and return
Contents
F1[SEL] Operation of function (Downward only)
F2[▲]、F3[▼] Switching between contents