EasyManua.ls Logo

Agilent Technologies E4448A - Page 354

Agilent Technologies E4448A
436 pages
Print Icon
To Next Page IconTo Next Page
To Next Page IconTo Next Page
To Previous Page IconTo Previous Page
To Previous Page IconTo Previous Page
Loading...
354 Chapter 11
Assembly Replacement Procedures
RF Section E4446A, E4447A, E4448A
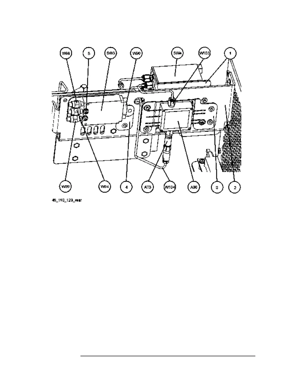
Figure 11-32 SW3 Removal
3. Refer to Figure 11-31. Remove the two screws (4) that attach the
SW3 bracket to the main bracket. Lift the switch/bracket assembly
from the instrument.
4. Refer to Figure 11-33. To separate the switch from the bracket,
remove the two screws.

Table of Contents

Other manuals for Agilent Technologies E4448A

Related product manuals