EasyManua.ls Logo

AJA FS4 - Single Channel Mode Configuration Examples

AJA FS4
143 pages
Print Icon
To Next Page IconTo Next Page
To Next Page IconTo Next Page
To Previous Page IconTo Previous Page
To Previous Page IconTo Previous Page
Loading...
www.aja.com
39
FS4 Frame Synchronizer/Converter v1.1
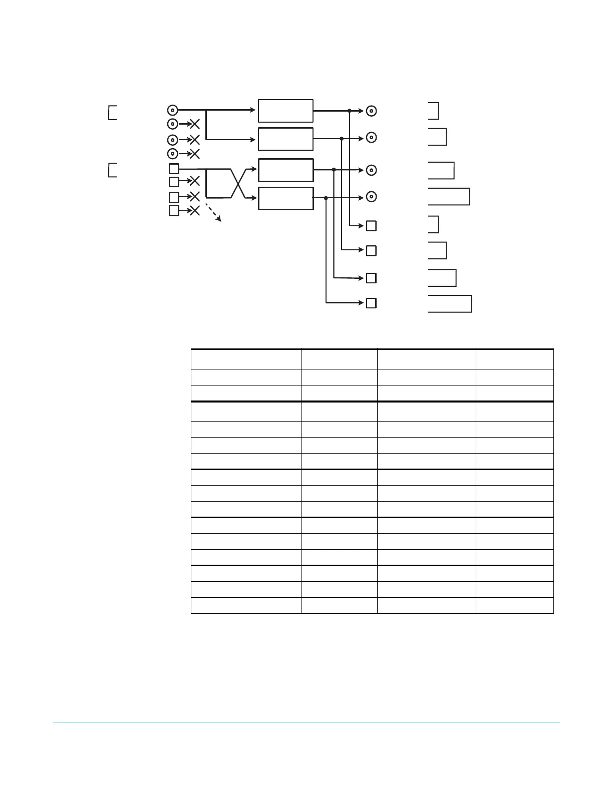
Figure 17. Four Channel Mode, Dual Stream Inputs Separated
Single Channel
Mode Configuration
Examples
Single Channel Mode has one 4K/UltraHD Video Processor, and all incoming video is
routed to that processor. All incoming embedded audio, even on inputs not routed to the
Video Processor, are disembedded and sent to the Audio Processor.
Dual Stream Inputs Separated
Four Channel Mode
HD/SD
Video Processor 1
HD/SD
Video Processor 2
SDI Out 5 SFP
(w Embedded Audio)
SDI Out 6 SFP
(w Embedded Audio)
SDI Out 7 SFP
(w Embedded Audio)
SDI Out 8
(w Embedded Audio)
SDI Out 1 BNC
(w Embedded Audio)
SDI Out 2 BNC
(w Embedded Audio)
Signal W
(SDI-A only)
Signal X
(SDI-B only)
HD/SD
Video Processor 3
HD/SD
Video Processor 4
SDI Out 3 BNC
(w Embedded Audio)
SDI Out 4 BNC
(w Embedded Audio)
Signal Y
(SDI-B only)
Signal Z
(SDI-A only)
Signal W
(SDI-A only)
Signal X
(SDI-B only)
Signal Y
(SDI-B only)
Signal Z
(SDI-A only)
Dual Stream input
videos separated and
routed to dierent
connectors, with each
signal duplicated once
All incoming embedded
audio is disembedded and
sent to Audio Processor
SDI In 1 BNC
(w Embedded Audio)
SDI In 2 BNC
SDI In 4 BNC
SDI In 3 BNC
SDI In 6 SFP
SDI In 7 SFP
SDI In 8 SFP
SDI In 5 SFP
(w Embedded Audio)
SDI-A
SDI-B
SDI-A
SDI-B
Signal V
Dual Stream
Signal U
Dual Stream
Table 6. FS4 Menu Settings for Figure 17
System Button Menu Name Setting
VIDEO 4.1 SDI1 3G Detect Dual Stream
VIDEO 4.2 SDI2 Input Protect Dual Stream
Channel Select Button Video Button Menu Name Setting
VID1 INPUT 1 Input SDI1
VID1 FORMAT 1 Output Format Follow Input
VID1 FORMAT 2.0 Link Cfg SDI1 Sngl Link LvlA
VID2 INPUT 1 Input SDI2
VID2 FORMAT 1 Output Format Follow Input
VID2 FORMAT 2.0 Link Cfg SDI1 Sngl Link LvlA
VID3 INPUT 1 Input SDI6
VID3 FORMAT 1 Output Format Follow Input
VID3 FORMAT 2.0 Link Cfg SDI1 Sngl Link LvlA
VID4 INPUT 1 Input SDI5
VID4 FORMAT 1 Output Format Follow Input
VID4 FORMAT 2.0 Link Cfg SDI1 Sngl Link LvlA

Table of Contents

Other manuals for AJA FS4

Related product manuals