www.aja.com
36
FS4 Frame Synchronizer/Converter v1.1
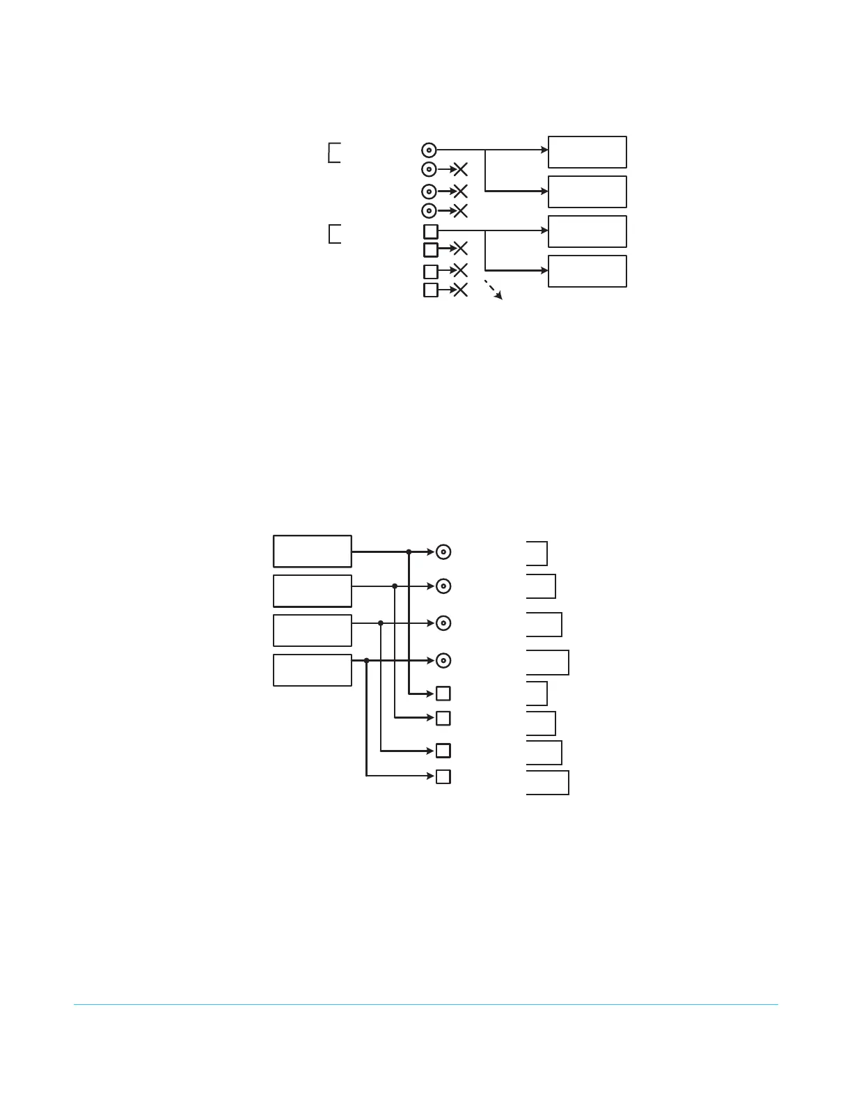
Figure 12. Four Channel Mode, Dual Stream Inputs
Four Channel Mode
Output Examples
In Four Channel Mode each Video Processor can output a different processed video
signal. Depending on configuration, output signals can be duplicated on additional
available output connectors.
The video output signal from each Video Processor can also carry embedded audio on
the first link of that signal. When video signals are duplicated, the first link of that
duplicated video signal will also carry that same embedded audio.
Figure 13. Four Channel Mode, Single Link Outputs
All incoming embedded
audio is disembedded and
sent to Audio Processor
Signal Y
Dual Stream
Signal Z
Dual Stream
Four Channel Mode
BNC & SFP Dual Stream Input
SDI In 1 BNC
(w Embedded Audio)
SDI In 2 BNC
SDI In 4 BNC
SDI In 3 BNC
SDI In 6 SFP
SDI In 7 SFP
SDI In 8 SFP
SDI In 5 SFP
(w Embedded Audio)
HD/SD
Video Processor 1
HD/SD
Video Processor 2
HD/SD
Video Processor 3
HD/SD
Video Processor 4
SDI-A
SDI-B
SDI-A
SDI-B
Four dierent
signals each
duplicated once
Signal W
Signal X
Signal Y
Signal Z
Signal W
Signal X
Signal Y
Signal Z
Single Link Output
Four Channel Mode
SDI Out 5 SFP
(w Embedded Audio)
SDI Out 6 SFP
(w Embedded Audio)
SDI Out 1 BNC
(w Embedded Audio)
SDI Out 2 BNC
(w Embedded Audio)
SDI Out 3 BNC
(w Embedded Audio)
SDI Out 4 BNC
(w Embedded Audio)
SDI Out 7 SFP
(w Embedded Audio)
SDI Out 8 SFP
(w Embedded Audio)
HD/SD
Video Processor 1
HD/SD
Video Processor 2
HD/SD
Video Processor 3
HD/SD
Video Processor 4