EasyManua.ls Logo

AJA FS4 - Single Channel Mode Output Examples

AJA FS4
143 pages
Print Icon
To Next Page IconTo Next Page
To Next Page IconTo Next Page
To Previous Page IconTo Previous Page
To Previous Page IconTo Previous Page
Loading...
www.aja.com
41
FS4 Frame Synchronizer/Converter v1.1
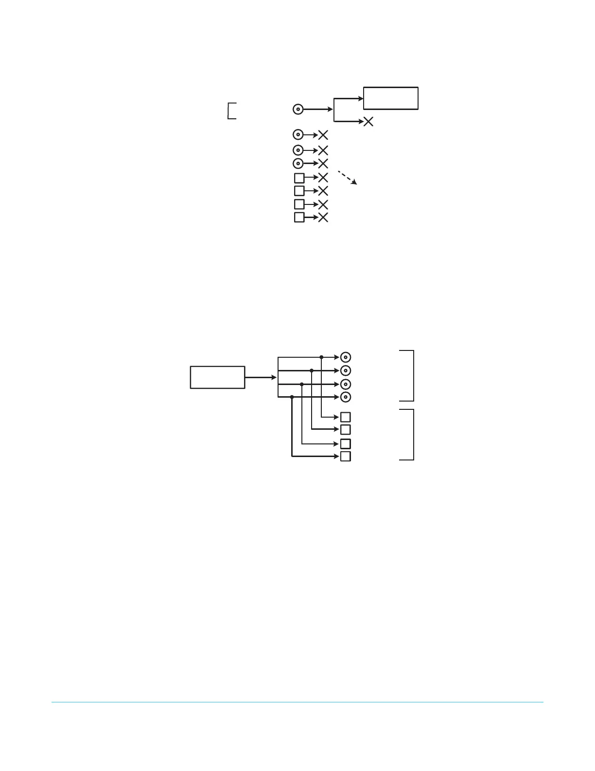
Figure 21. Single Channel Mode, Dual Stream Input
Single Channel Mode
Output Examples
In Single Channel Mode, depending on configuration, output signals can be duplicated
on additional available output connectors.
The video output signal from the Video Processor can also carry embedded audio on the
first link of that signal. When video signals are duplicated, the first link of that duplicated
video signal will also carry that same embedded audio.
Figure 22. Single Channel Mode, Quad Link Outputs
All incoming embedded
audio is disembedded and
sent to Audio Processor
Signal Z
Dual Stream
Single Channel Mode
Dual Stream Input
SDI In 1 BNC
(w Embedded Audio)
SDI In 2 BNC
SDI In 3 BNC
SDI In 4 BNC
SDI In 5 SFP
SDI In 6 SFP
SDI In 7 SFP
SDI In 8 SFP
4K/UHD
Video Processor
SDI-A
SDI-B
Only one of the
Dual Streams
is routed to the
Video Processor
SDI Out 7 SFP
SDI Out 8 SFP
SDI Out 5 SFP
(w Embedded Audio)
SDI Out 6 SFP
SDI Out 4 BNC
SDI Out 1 BNC
(w Embedded Audio)
SDI Out 2 BNC
SDI Out 3 BNC
4K/UHD
Video Processor
Signal Z
Signal Z
Single Channel Mode
Quad Link Output
Two copies of the
same signal on the
BNC and SFP outputs

Table of Contents

Other manuals for AJA FS4

Related product manuals