EasyManua.ls Logo

AJA FS4 - Page 42

AJA FS4
143 pages
Print Icon
To Next Page IconTo Next Page
To Next Page IconTo Next Page
To Previous Page IconTo Previous Page
To Previous Page IconTo Previous Page
Loading...
www.aja.com
42
FS4 Frame Synchronizer/Converter v1.1
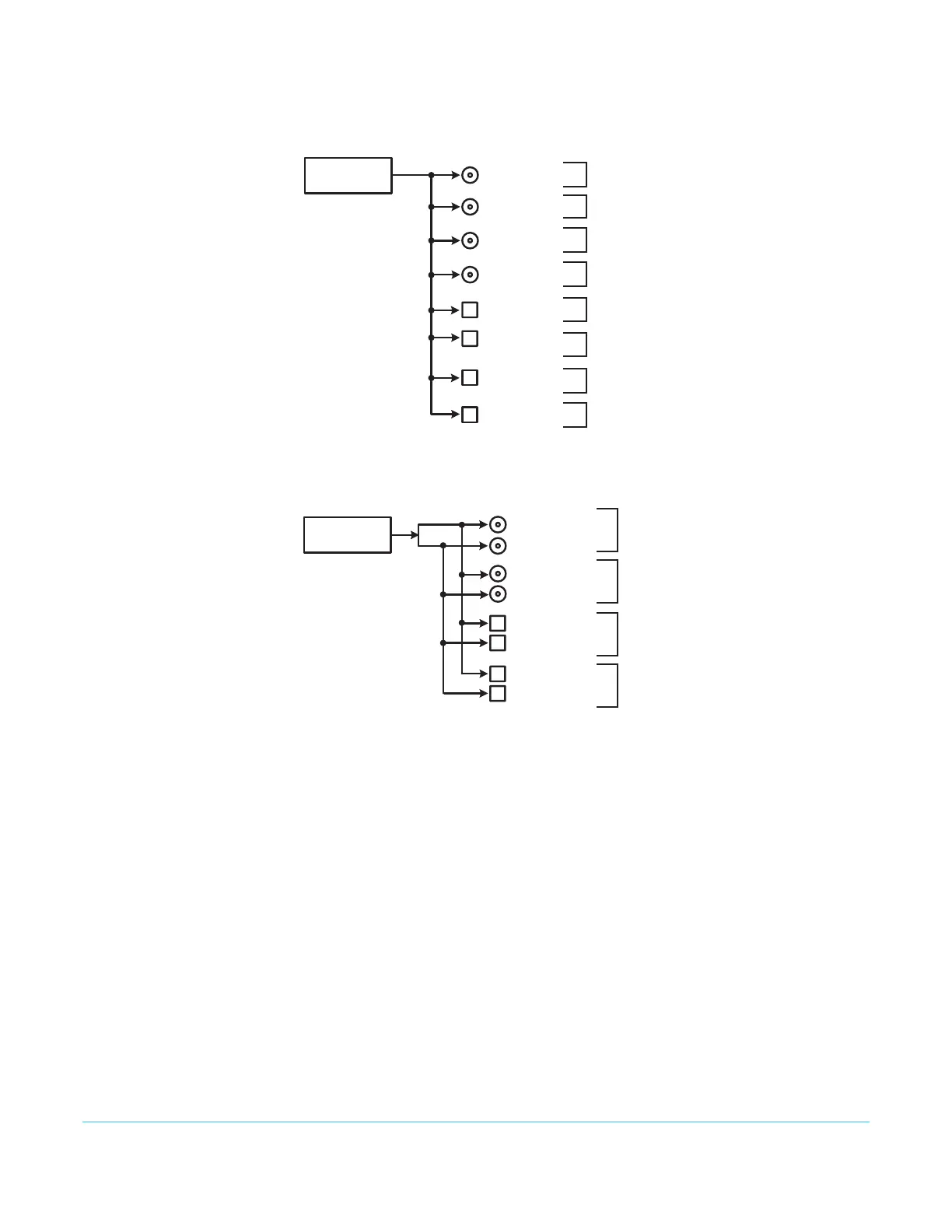
Figure 23. Single Channel Mode, Single Link Outputs
Figure 24. Single Channel Mode, Dual Link Outputs
Because Single Channel Mode has only one Video Processor, two different video output
images cannot be created. When configured for Dual Stream output in Single Channel
Mode, the SDI-B portion of the output signal will either have no video, or will be a copy of
the SDI-A stream (
Figure 25).
Single Channel Mode
4K/UHD
Video Processor
SDI Out 5 SFP
(w Embedded Audio)
SDI Out 6 SFP
(w Embedded Audio)
SDI Out 1 BNC
(w Embedded Audio)
SDI Out 2 BNC
(w Embedded Audio)
SDI Out 3 BNC
(w Embedded Audio)
SDI Out 4 BNC
(w Embedded Audio)
SDI Out 7 SFP
(w Embedded Audio)
SDI Out 8 SFP
(w Embedded Audio)
Single Link Output
Signal Z
Signal Z
Signal Z
Signal Z
Signal Z
Signal Z
Signal Z
Signal Z
Eight copies of
the same signal
on all outputs
Dual Link Output
Single Channel Mode
4K/UHD
Video Processor
SDI Out 4V
SDI Out 2 BNC
SDI Out 5 SFP
(w Embedded Audio)
SDI Out 6 SFP
SDI Out 7 SFP
(w Embedded Audio)
SDI Out 8 SFP
SDI Out 1 BNC
(w Embedded Audio)
SDI Out 3 BNC
(w Embedded Audio)
Signal Z
Signal Z
Signal Z
Signal Z
Four copies of the
same signal on all
Dual Link outputs

Table of Contents

Other manuals for AJA FS4

Related product manuals