EasyManua.ls Logo

AOR AR8600 - 14-7 CONFIG GLOBAL write protect; 14-8 CONFIG Opening message

AOR AR8600
143 pages
Print Icon
To Next Page IconTo Next Page
To Next Page IconTo Next Page
To Previous Page IconTo Previous Page
To Previous Page IconTo Previous Page
Loading...
109
&Note: Frequency display will be provided in VFO
and VFO search and VFO scan even with the frequency
display disabled.
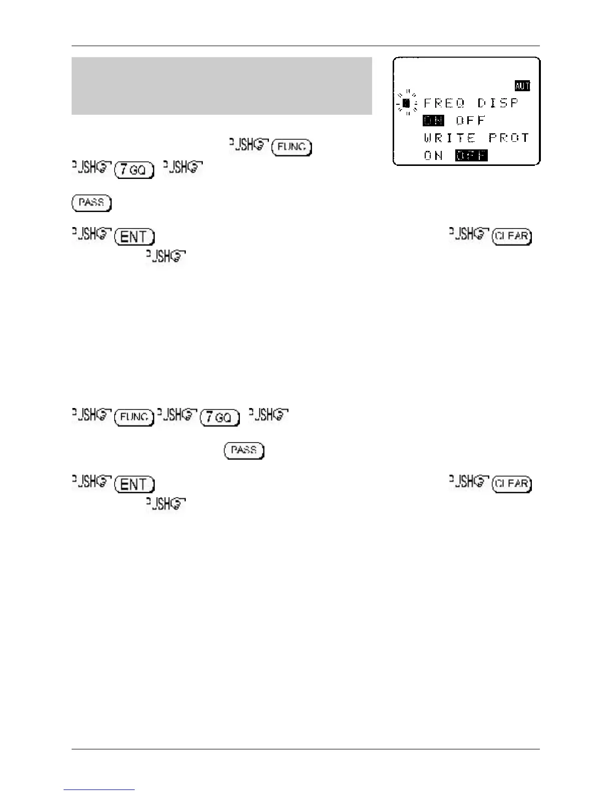
The FREQUENCY DISPLAY parameters are setup in the CONFIG
menu. To access the config menu
. ò eight times to move the cursor to the
FREQ DISP” selection point. Use the main dial or ï ð keys to toggle between ON and OFF. The
key may be used as a short cut to ON (which is default).
to accept the data and return to a standard display. Alternatively
to abort entry or ò to move to the next item on the config menu (WRITE PROT).
14-7 CONFIG GLOBAL write protect
It is possible to globally write protect the entire AR8600 data storage, this prevents memory entry,
search bank programming, loading of data via the option socket, loading of data from the optional
EM8200 etc. Use this feature carefully.
Should you wish to leave your AR8600 safe in the knowledge that no-one will ‘mess it up’
(well maybe!)… toggle global write protect on.
The global “WRITE PROTECT” status is setup in the CONFIG menu. To access the config menu
. ò seven times to move the cursor to the “WRITE
PROT” selection point.
Use the main dial or ï ð keys or key to toggle between ON and OFF (the default is off).
to accept the data and return to a standard display. Alternatively
to abort entry or ò to move to the next item on the config menu (OPENING MESSAGE).
14-8 CONFIG Opening message
It is possible to display a welcome message while the AR8600 is powering up and collating its ‘boot-up’
information. There are three options for opening message:
NORM
Normal message is displayed at switch-on: WELCOME TO THE NEW WORLD OF AR8600.
QUICK
Blank screen at switch-on.
USER
Four lines of 12 characters may be entered for display at switch-on. Initially they are configured
for you to enter OWNERS name and PHONE NUMBER but all lines may be over-written.
Section 14-6, 14-7, 14-8

Table of Contents

Other manuals for AOR AR8600

Related product manuals