EasyManua.ls Logo

AOR AR8600 - 5-2-2 Automatic memory allocation; 5-3 Memory write protect

AOR AR8600
143 pages
Print Icon
To Next Page IconTo Next Page
To Next Page IconTo Next Page
To Previous Page IconTo Previous Page
To Previous Page IconTo Previous Page
Loading...
55
To recap:
Once the three digit memory location has been selected, the 2 second keypad time-out does not apply
to the rest of the sequence.
d)
To add the text comment “70cm”, ò then use the main dial to select the text and the
ï ð keys to move position of text input. To accept the new frequency and text comment “70cm”,
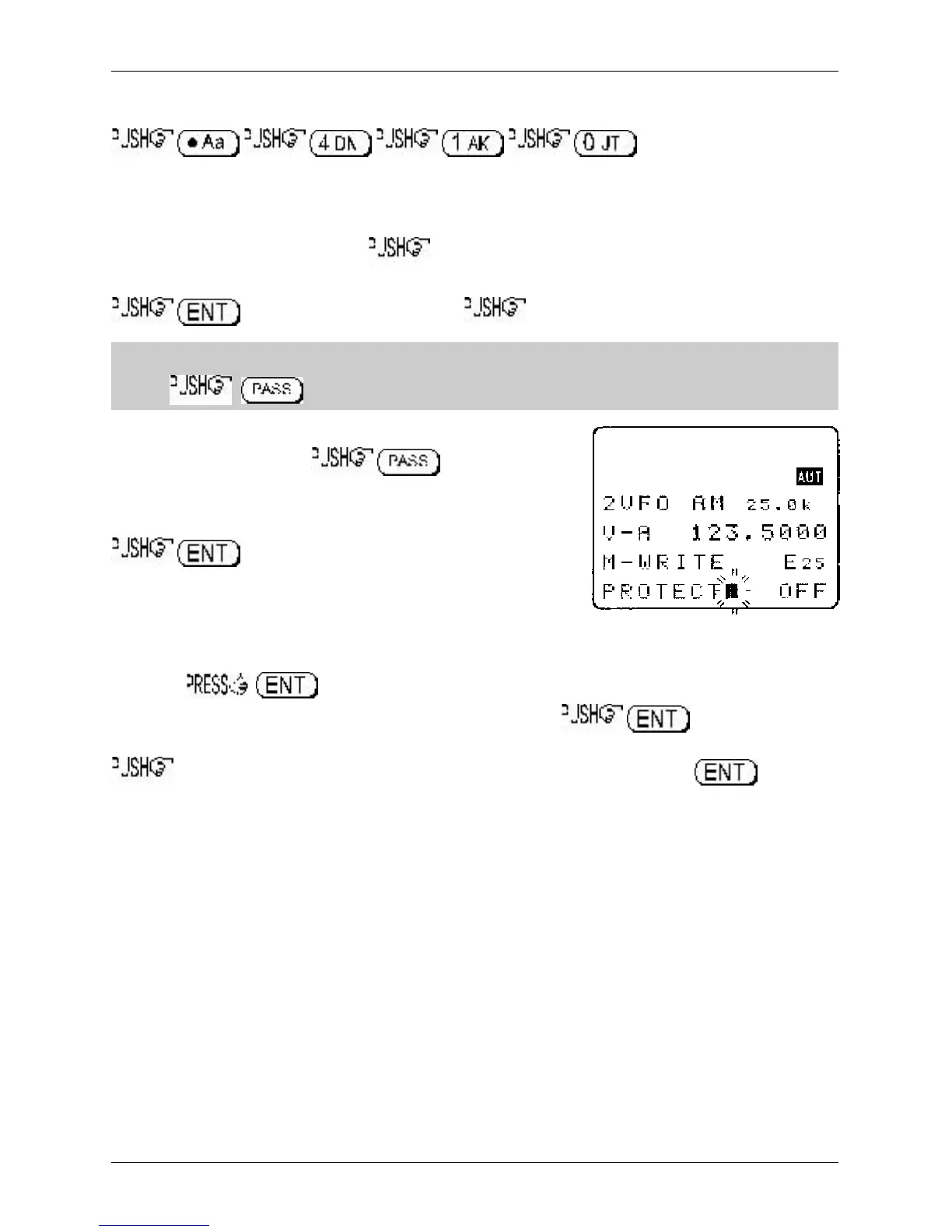
, if you wish to add write protect ò to access the PROTECT menu.
&Note: If the memory location has been previously used and a text comment is displayed,
to delete the existing comment.
e)
In the write protect menu, to toggle the status
to “ON”, the default is off.
To accept the input and store the data to the specified location,
. The display will revert to 2VFO mode.
5-2-2 Automatic memory allocation
When you to start the memory write sequence, the AR8600 will initially offer the first
available empty memory location which has no data stored in it. to accept the
channel offered or choose another location as described in the previous sections. Alternatively you may
the ò key to add a text comment then complete memory write by pushing . If the
AR8600 has to look through many full memory channels before an empty channel is located, the
message “MEM WRITE SEARCH BLANK CH” may be briefly displayed.
5-3 Memory write protect
As indicated in
section 5-2
, it is possible to write protect memory contents to ensure that important
memory channels are not accidentally overwritten. It is important to remember that by write protecting a
memory channel, it may prevent certain facilities from being used (such as over-writing the memory
channel or copying / swapping memory data to it).
The memory protect status may be assigned as the last stage of memory write (as per
section 5-2
of
this manual) or toggled on/off using the memory channel EDIT facility, refer to
section 9-6
of this manual
regarding memory channel EDIT facilities, in particular MEMORY PROTECT.
It is also possible to write protect a whole memory bank, this prevents accidental deletion of data when
resizing memory banks.
Section 5-2-1, 5-2-2, 5-3

Table of Contents

Other manuals for AOR AR8600

Related product manuals