EasyManua.ls Logo

AOR AR8600 - (15) Band scope; 15-1 Starting the band scope

AOR AR8600
143 pages
Print Icon
To Next Page IconTo Next Page
To Next Page IconTo Next Page
To Previous Page IconTo Previous Page
To Previous Page IconTo Previous Page
Loading...
110
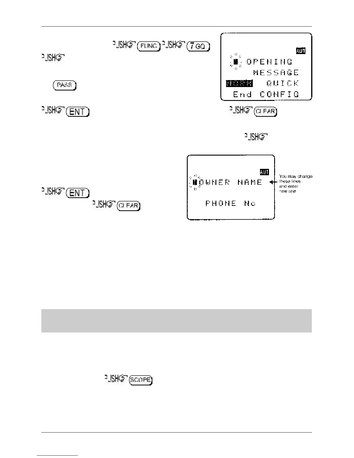
The “OPENING MESSAGE” is setup in the CONFIG menu.
To access the config menu .
ò eight times to move the cursor to the
OPENING MESSAGE” selection point. Use the main dial or
ï ð keys to toggle between NORM / QUICK / USER.
The key may used as a short cut to NORM (which is
the default).
to accept the data and return to a standard display or to
abort entry.
Alternatively if you have selected
USER
and wish to change the text comment ò to access
the text input menu for the opening menu.
You may change all four lines of text in the usual
manner. Please refer to
section 12-1
of this manual
for further information regarding text input.
to accept the data and return to a
standard display or to abort entry.
When the AR8600 is switched off and back on
again, the new opening message will be displayed.
(15) Band scope
The AR8600 is equipped with a flexible band scope function which is capable of graphically displaying
band activity. The maximum frequency span width is 10 MHz, you may zoom in on activity to a span
width of 100 kHz. Centre frequency is displayed and a marker may be manipulated to ascertain the
frequency of activity using the graphical display. One trace may be saved to memory for recall at a later
time and may be overwritten at will. The trace may also be saved and loaded from the optional EM8200
external memory slot card.
&Note: Priority operation is disabled when the band scope is in operation. Audio is muted.
The optional RU8200 is inoperative when the band scope is in operation.
It is suggested that the band scope facility is ‘experimented with’ on a constantly active band such as
VHF Band-II broadcast.
15-1 Starting the band scope
To start the band scope . The frequency span width will be set to 10 MHz with the
last frequency displayed in 2VFO, search, scan or memory read mode being used as the centre
frequency. AUDIO IS MUTED.
Section 14-8, 15, 15-1

Table of Contents

Other manuals for AOR AR8600

Related product manuals