EasyManua.ls Logo

AOR AR8600 - 5-4 Memory read “M.RD”

AOR AR8600
143 pages
Print Icon
To Next Page IconTo Next Page
To Next Page IconTo Next Page
To Previous Page IconTo Previous Page
To Previous Page IconTo Previous Page
Loading...
56
The memory bank write protect may be toggled on/off using the SCAN environment menu accessed by
the key sequence followed by four pushes of the ò key.
the to toggle bank select on/off and to accept the changes and
exit the menu. Please refer to
section 7-8-6
of this manual for details on MEMORY BANK write
PROTECT.
&Note: Memory channel write protect prevents accidental over-writing and deletion of specific
memory channels but does not prevent loss of data due to memory resizing or when using the
optional external memory slot card.
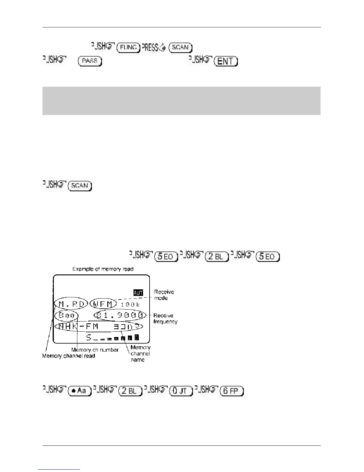
5-4 Memory read “M.RD”
Once frequency and mode data has been stored into a memory location, its retrieval is quick and simple.
Let’s assume that you wish to retrieve the frequency of 123.500 MHz which has been programmed into
to memory “E25” during an earlier example in the preceding
section 5-2
of this manual.
to place the receiver into memory read mode, the legend “M.RD” appears toward
the top left of the LCD to confirm operation. The AR8600 will monitor whatever memory channel first
appears when you enter memory read.
The AR8600 will display memory channel, mode, frequency, tuning step, text comment (if one was
used), attenuator status, noise limiter status and AFC status. The memory channel last used (for
memory write or recall) will initially be displayed, If the desired memory channel is not immediately
displayed it may be recalled by keying in the required three digit location.
To recall memory channel “E25
(there is no need to push enter).
The “BANK/CH SEL” legend automatically appears
when the first key is pushed to remind you that you
are recalling memory channels in memory read
mode. Keypad memory recall requires a three digit
location, one letter for the bank and two numbers for
the channel. If you hesitate for more that 2 seconds
while recalling memory channels via the keypad the
sequence will time out, for more leisurely memory
recall use the ï ð ñ ò keys.
To recall memory “b06” the CASE SHIFT key needs to be used to access the lower case bank,
(there is no need to push
enter). If you attempt to recall a memory which has no valid data (because it is blank) the next valid
memory channel will be displayed instead. Blank memory channels are ignored.
Section 5-3, 5-4

Table of Contents

Other manuals for AOR AR8600

Related product manuals