EasyManua.ls Logo

AOR AR8600 - 6-2-1 Changing the priority channel data pickup channel; 6-2-2 Changing priority interval time

AOR AR8600
143 pages
Print Icon
To Next Page IconTo Next Page
To Next Page IconTo Next Page
To Previous Page IconTo Previous Page
To Previous Page IconTo Previous Page
Loading...
61
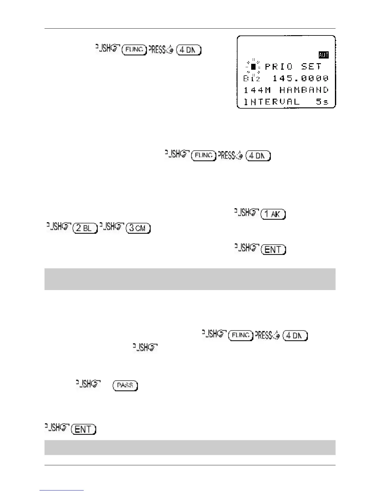
This is accomplished by using the “PRIO SET” menu accessed by
the key sequence .
The legend “PRIO SET” appears on the top line of the LCD to
confirm selection.
6-2-1 Changing the priority channel data pickup channel
Should you wish the priority channel to use data contained in another memory location, access the
PRIO SET” menu using the key sequence , the legend
PRIO SET” appears on the top line of the LCD to confirm selection.
Select the new location for data pickup by the priority channel, use the main dial to move through the
memory locations one at a time or use the ï ð keys to move between banks, alternatively quickly key
in a three digit memory location via the keypad.
For example, select memory location “A23” using the key sequence
.
The priority interval time menu may be accessed using the ò key or to exit the menu.
The newly nominated channel data will be used for priority monitoring.
&Note: If you attempt to nominate a channel which contains no data, the input will be
ignored and the previously used data will continue to be employed.
6-2-2 Changing priority interval time
Should you wish to check the priority frequency more or less often, the sampling time (interval) may be
set using the “PRIO SET” menu. Use the key sequence to
access the “PRIO SET” menu. the ò key to move the cursor to the “INTERVAL” input line.
Use the main dial to vary the interval time in increments of 1 second, the ï ð keys may be used to
vary the interval time in increment of 10 seconds. Priority time may be varied between the range of
1s to 99s. the key to act as a short cut to 5 seconds (default).
The more often you check the priority channel, the greater chance you have of ‘catching’ activity,
however the greater the interruption to normal monitoring.
to accept the input and exit the menu.
&Note: Priority interval time is also used for VFO SCAN timings.
Section 6-2, 6-2-1, 6-2-2

Table of Contents

Other manuals for AOR AR8600

Related product manuals