EasyManua.ls Logo

AOR AR8600 - 4-2-1 VFO SCAN sampling time; 4-3 VFO Search; 4-3-1 Defining VFO search; 4-3-2 Starting VFO search

AOR AR8600
143 pages
Print Icon
To Next Page IconTo Next Page
To Next Page IconTo Next Page
To Previous Page IconTo Previous Page
To Previous Page IconTo Previous Page
Loading...
43
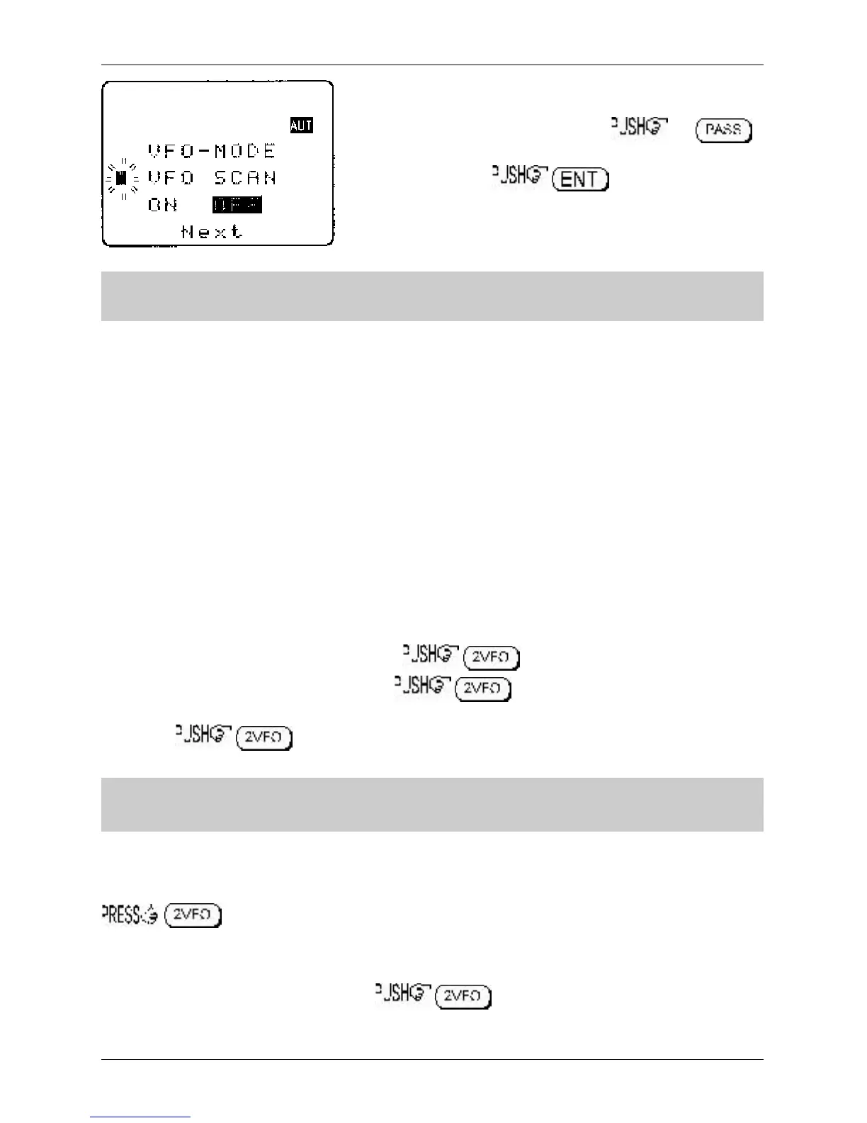
The third line displays “ON” and “OFF” with the “OFF” legend
displayed in reverse contrast to show that it is currently selected
(default). To toggle the VFO SCAN on/off the
key or use the main dial or ï ð keys.
To accept the changes .
While VFO SCAN is active, the “2VFO” legend is replaced with
the legend “V-SC” representing VFO SCAN. To toggle VFO scan
off, use the same key sequence and menu.
& Note: While the primary VFO remains active, VFO scan will not check the secondary
VFO… VFO scan will not start! While VFO SCAN is active, the priority facility is disabled.
4-2-1 VFO SCAN sampling time
The time elapsed between samples and for remaining on the secondary VFO is set by PRIORITY
INTERVAL time. Please refer to the
section 6-2-2
detailing priority operation. The default is time is
5 seconds.
4-3 VFO Search
It is possible to quickly assign two frequency limits to VFO-A and VFO-B then instruct the AR8600 to
automatically tune the receiver from one frequency limit to the other in the specified receive mode and
tuning step looking for active frequencies. This process is called
VFO SEARCH
.
4-3-1 Defining VFO search
1. Place the AR8600 into VFO mode - .
2. Enter a frequency into VFO-A, i.e. to display “V-A” as the active
‘top’ VFO. Enter a frequency such as 145.200 MHz
3. to display “V-B” as the active ‘top’ VFO. Enter a different frequency such
as 145.775 MHz.
&Note: When the receive mode is set to AUTO, the AR8600 will take the receive mode,
tuning step size and other data variables from the pre-programmed auto-mode bandplan.
4-3-2 Starting VFO search
to start VFO search, the legend “V-SR” indicates when VFO search is in operation.
Ensure that the squelch is closed in the absence of a signal (or VFO search will not work), the
search process will start from the lowest frequency and will advance in the mode and tuning step as
defined in the active ‘top’ VFO. Data other than frequency stored in the secondary VFO will be ignored,
the data being taken from the active VFO. to cancel VFO search and return to 2VFO
mode.
Section 4-2, 4-2-1, 4-3, 4-3-1, 4-3-2

Table of Contents

Other manuals for AOR AR8600

Related product manuals