EasyManua.ls Logo

Arkon MAGX2 - Page 32

Arkon MAGX2
63 pages
Print Icon
To Next Page IconTo Next Page
To Next Page IconTo Next Page
To Previous Page IconTo Previous Page
To Previous Page IconTo Previous Page
Loading...
MAGX2 User Guide
31
V2.14 1-2-2017
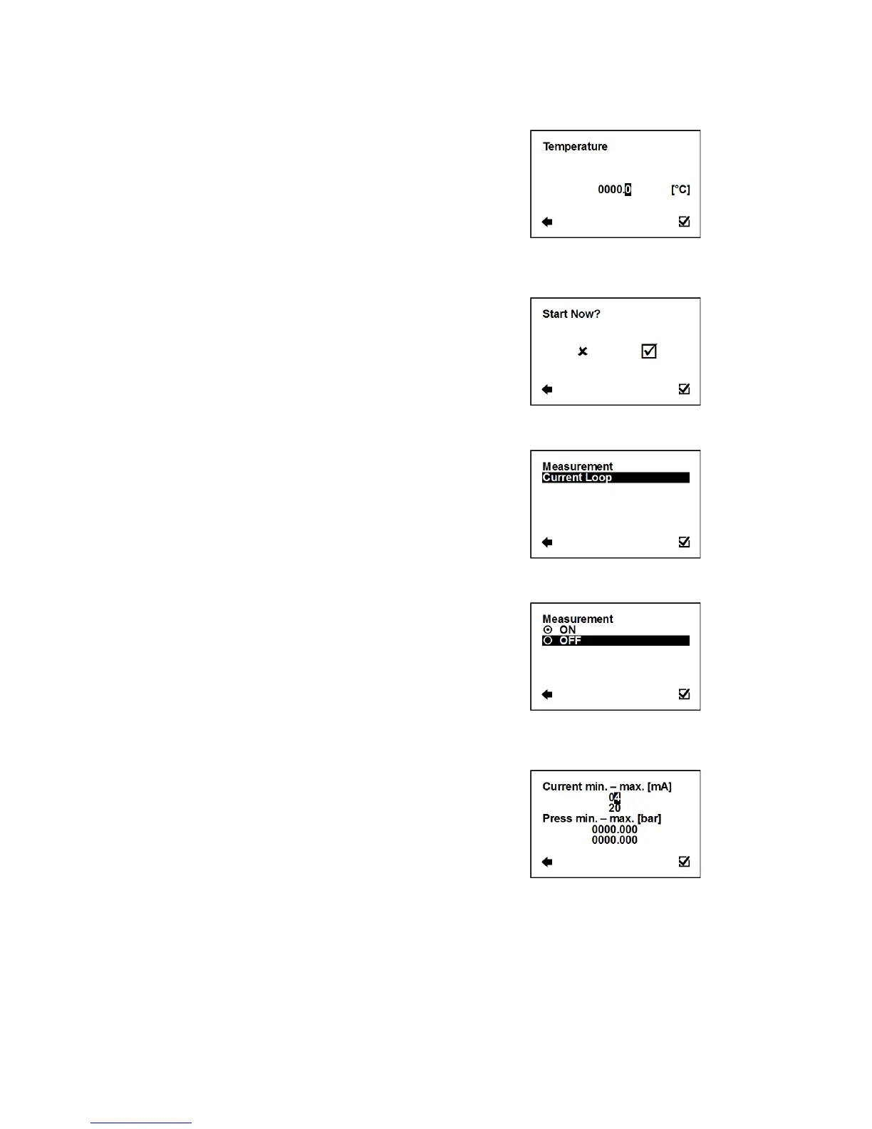
External Measurements > Temperature > Calibration > Temperature
Calibration temperature at the time of calibration.*

Back with no change

Selection of digit position

Value setting

Confirmation of setup and saving to memory
*
Refference temperature of known temperature sensor at the time of calibration
External Measurements > Temperature > Calibration > Star Now
Start of the calibration.

Back with no change

Item selection

Confirmation of setup and saving to memory

Calibration temperature will not change

New calibration temperature changed
3.6.2. External Measurements > Pressure
Setup of the external measurement of pressure.

Back with no change

Item selection

Enter this part of the menu
External Measurements > Pressure > Measurement
Measurement of pressure.

Back with no change

Item selection

Selection identification

Confirmation of setup and saving to memory
ON
When set ON, the value of pressure is shown
amongst totalizers (XPress)*
*
It is not possible to use simultaneously Pressure Module a I-Out
External Measurements > Pressure > Current Loop
4-20mA external pressure sensor settings.*
Possible range: 4 20mA, Pressure according to sensor

Back with no change

Selection of digit position

Value setting

Confirmation of setup and saving to memory
*
Any external pressure sensor working on passive 4-20mA. i.e. WIKA A-10 (P#1105VX3J)

Table of Contents