EasyManua.ls Logo

AuCom EMX4i - 4.7 Typical Installation

AuCom EMX4i
126 pages
Print Icon
To Next Page IconTo Next Page
To Next Page IconTo Next Page
To Previous Page IconTo Previous Page
To Previous Page IconTo Previous Page
Loading...
INSTALLATION
30 EMX4i User Manual 710-14888-00C
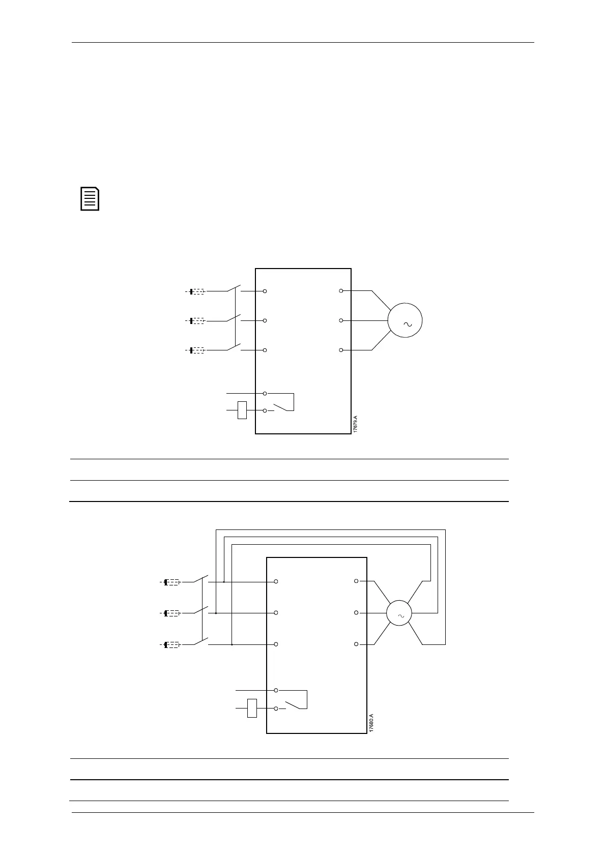
Motor Connection
The EMX4i can be connected to the motor in-line or inside delta (also called
three-wire and six-wire connection). When connecting in inside delta, enter the
motor full load current (FLC) for parameter 1B. The EMX4i will automatically detect
whether the motor is connected in-line or inside delta and will calculate the correct
inside delta current level.
NOTE
If the starter is not correctly detecting the motor connection, use parameter
20F
Motor Connection
.
In-line installation
34
33
K1
K1F1
6/T3
2/T1
5/L3
3/L2
1/L1
4/T2
M
3
K1
Main contactor (strongly recommended)
F1
Fuses or circuit breaker (optional)
33, 34 Main contactor output
Inside delta installation
M
3
U1(1) U2(4)
V1(2)
V2(5)
W1(3) W2(6)
K1
F1
34
33
K1
6/T3
2/T1
5/L3
3/L2
1/L1
4/T2
K1 Main contactor
F1 Fuses or circuit breaker (optional)
33, 34
Main contactor output

Table of Contents

Related product manuals